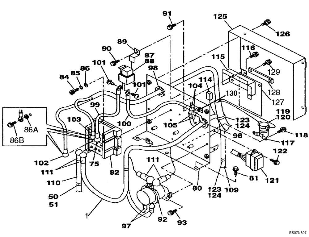
Запчасти Case CX210 (04-05B) - HARNESS, MAIN - RELAY PANEL (04) - ELECTRICAL SYSTEMS

Схема запчастей Case CX210 - (04-05B) - HARNESS, MAIN - RELAY PANEL (04) - ELECTRICAL SYSTEMS
111
81
89
129
101
118
126
84
75
111
102
124
97
100
122
50
104
80
92
119
123
51
87
105
98
115
93
125
110
117
86b
1
99
116
86
127
86a
130
128
121
109
103
123
91
124
114
101
85
98
88
90
120
82
FIT
1:1
100%

Артикул

Название

Примечание

Количество

1

KRR1601

HARNESS

Replaces KRR1430, KRR1432, KRR1513; See Figure 04-05

1шт.

50

162149A1

COLLAR

P.I.N. DAC0721101 - DAC212483

1шт.

50

162150A1

CLAMP

P.I.N. DAC212484 -

1шт.

51

167518A1

BOLT

1шт.

75

159182A1

DUST CAP

1шт.

80

KRR1404

BRACKET

1шт.

81

627-10025

BOLT,Hex, M10 x 1.5 x 25mm, Cl 10.9, Full Thd

3шт.

896-11010

WASHER,11mm ID x 21mm OD x 2.5mm Thk

3шт.

82

KHR3249

ELEC CONNECTOR

150 mm (6 in), Terminal

1шт.

84

862-8030

HEX SOC SCREW,M8 x 30mm, Cl 12.9

4шт.

85

892-11008

LOCK WASHER,8mm ID

4шт.

86

895-11008

WASHER,9mm ID x 16mm OD x 1.6mm Thk

4шт.

87

KHR3250

BOX, FUSE

Fuse

1шт.

88

KHR3251

FUSE

120 amp

1шт.

88a

KRR1438

SPACER

3шт.

88b

152100A1

CAPTIVE WASHER SCREW,Phil Pan Hd, M6 x 16mm

3шт.

89

KHR3255

COLLAR

1шт.

90

159602A1

BOLT,Sems, Hex, M6 x 16mm

1шт.

91

159602A1

BOLT,Sems, Hex, M6 x 16mm

2шт.

92

159897A1

RELAY

Battery

1шт.

93

KHJ1215

BOLT,Spcl

2шт.

97

159171A1

CAP

1шт.

98

150520A1

GROMMET

1шт.

99

KHR3253

CABLE

1шт.

100

KHR3254

CABLE

1шт.

101

157542A1

SCREW

2шт.

102

159180A1

CAP

1шт.

103

159176A1

CAP

1шт.

104

159182A1

DUST CAP

1шт.

105

159176A1

CAP

1шт.

109

KHR3265

CABLE ASSY.

1шт.

110

KHR3266

ELECTRIC CABLE

1шт.

111

162212A1

TERMINAL CONNECTOR

4шт.

112

162149A1

COLLAR

1шт.

113

167518A1

BOLT

1шт.

114

159902A1

FUSE

65A fuse - starter

1шт.

115

KRR1406

COVER

1шт.

116

159602A1

BOLT,Sems, Hex, M6 x 16mm

2шт.

117

159898A1

RELAY

1шт.

118

159602A1

BOLT,Sems, Hex, M6 x 16mm

2шт.

119

892-11006

LOCK WASHER,M6

2шт.

120

829-1406

NUT,Hex, M6 x 1, Cl 10.9

2шт.

121

KHR3252

BOX, FUSE

Fuse

1шт.

122

167518A1

BOLT

2шт.

123

KHR2583

CLAMP

2шт.

124

159602A1

BOLT,Sems, Hex, M6 x 16mm

2шт.

125

KRR1405

COVER

1шт.

126

627-8020

BOLT,Hex, M8 x 1.25 x 20mm, Cl 10.9, Full Thd

4шт.

896-15008

WASHER,9mm ID x 21mm OD x 2.5mm Thk

4шт.

127

KRR1436

PLATE

Not Illustrated

1шт.

128

KRR1437

PLATE

Not Illustrated

1шт.

129

159602A1

BOLT,Sems, Hex, M6 x 16mm

Not Illustrated

2шт.

130

381427A1

RELAY

Grid Heater

1шт.

Выбрано товаров: 53