Запчасти Case CX210LR (08-35) - MOUNTING - SWING MOTOR, PIN DAC0721101 - DAC0721171 (08) - HYDRAULICS

Схема запчастей Case CX210LR - (08-35) - MOUNTING - SWING MOTOR, PIN DAC0721101 - DAC0721171 (08) - HYDRAULICS
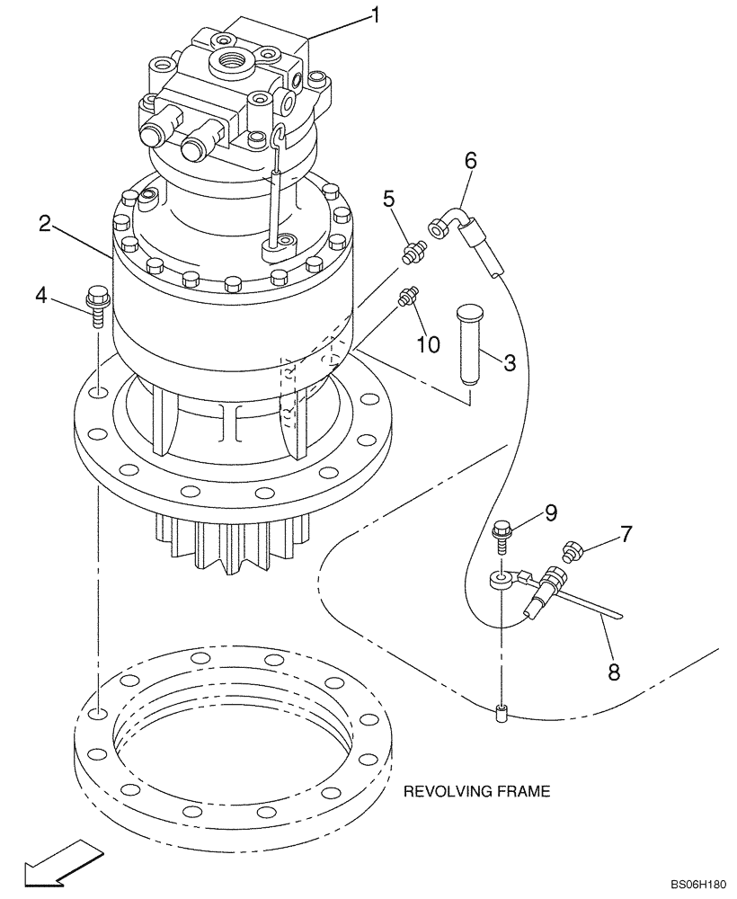
6
9
10
2
1
7
8
5
3
4
FIT
1:1
100%

Артикул

Название

Примечание

Количество

1

169321A1

MOTOR, HYDRAULIC

Swing; No Component Parts Available.

1шт.

2

KRC0209

REDUCER

See Figure 08-37

1шт.

LN00111R

REMAN-REDUCTION UNIT

CX210LR PIN DAC0721101-DAC0721171 Reman for new P/N KRC0209

1шт.

LN00111C

CORE-REDUCTION UNIT

Return Number

1шт.

3

158955A1

HEADED PIN

M20 x 75

1шт.

4

166354A1

BOLT,Sems, M20 x 75mm

11шт.

5

153597A1

ADAPTER

1шт.

6

KHJ1193

HYDRAULIC HOSE,9.52 mm ID x 450.00 mm

1шт.

7

KHP0501

PLUG

1шт.

8

KHR2583

CLAMP

1шт.

9

159602A1

BOLT,Sems, Hex, M6 x 16mm

1шт.

10

153630A1

LUBE NIPPLE

1шт.

Выбрано товаров: 12