Запчасти Case CX210LR (08-35B) - MOUNTING - SWING MOTOR, PIN DAC0721423 - (08) - HYDRAULICS

Схема запчастей Case CX210LR - (08-35B) - MOUNTING - SWING MOTOR, PIN DAC0721423 - (08) - HYDRAULICS
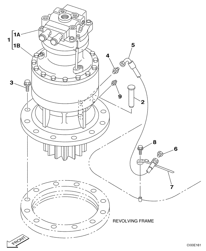
8
3
6
7
5
2
4
1
1b
1a
9
FIT
1:1
100%

Артикул

Название

Примечание

Количество

1

KRC0227

MOTO-REDUCTION GEAR

Incl. 1A, 1B

1шт.

1a

LJ01077

MOTOR, HYDRAULIC

See Figure 08-36A

1шт.

1b

LN00111

REDUCER

See Figure 08-38A

1шт.

LN00111R

REMAN-REDUCTION UNIT

CX210, CX210N ~DAC0721850 & ASN DAC211851 all PIN DAC0721426-, CX210LR PIN DAC0721423

1шт.

LN00111C

CORE-REDUCTION UNIT

Return Number

1шт.

2

158955A1

HEADED PIN

1шт.

3

166354A1

BOLT,Sems, M20 x 75mm

M20 x 75

11шт.

4

153597A1

ADAPTER

1шт.

5

KHJ1193

HYDRAULIC HOSE,9.52 mm ID x 450.00 mm

1шт.

6

KHP0501

PLUG

1шт.

7

KHR2583

CLAMP

1шт.

8

159602A1

BOLT,Sems, Hex, M6 x 16mm

1шт.

9

153630A1

LUBE NIPPLE

1шт.

Выбрано товаров: 13