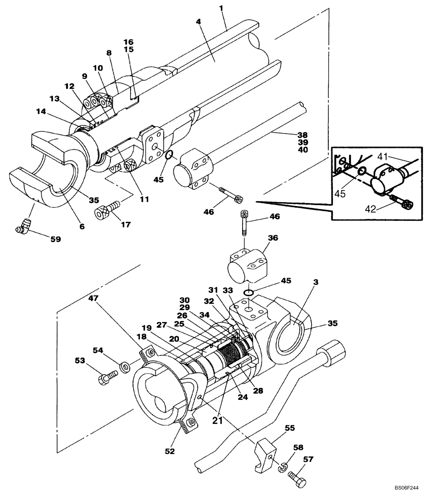
Запчасти Case CX210LR (08-48) - CYLINDER ASSY - ARM (Nov 3 2009 8:16AM) (08) - HYDRAULICS

Схема запчастей Case CX210LR - (08-48) - CYLINDER ASSY - ARM (Nov 3 2009 8:16AM) (08) - HYDRAULICS
31
53
54
18
38
8
14
3
4
36
40
41
29
45
19
17
58
30
34
6
24
39
13
55
15
27
46
32
35
26
25
16
52
12
46
20
42
10
45
11
59
9
33
47
57
21
28
45
35
1
FIT
1:1
100%

Артикул

Название

Примечание

Количество

KBV1789

HYDRAULIC CYLINDER

Arm; Incl. 1 - 59

1шт.

LR00655

HYD TUBE

Incl. 1, 3

1шт.

1

NSS

NOT SOLD SEPARAT

Tube, Cylinder

1шт.

3

160048A1

BUSHING

1шт.

LB00626

PISTON ROD

Incl. 4, 6

1шт.

4

NSS

NOT SOLD SEPARAT

Rod, Piston

1шт.

6

160048A1

BUSHING

1шт.

8

LU00113

GLAND

Incl. 9, 10

1шт.

9

160049A1

BUSHING

1шт.

10

155711A1

RING, SNAP

RING SNAP

1шт.

11

LE00762

RING

1шт.

12

LAU0025

RING

1шт.

13

LE00738

BACK-UP RING

1шт.

14

159960A1

BACK-UP RING

1шт.

15

154797A1

O-RING

1шт.

16

LE00739

BACK-UP RING

1шт.

17

863-20080

HEX SOC SCREW,M20 x 80mm, Cl 12.9

10шт.

18

LE00740

BACK-UP RING

1шт.

19

LE00741

BACK-UP RING

1шт.

20

LJ00681

PISTON

1шт.

21

LE00742

BACK-UP RING

1шт.

24

LE00743

BACK-UP RING

2шт.

25

LE00744

SCRAPER RING

2шт.

26

LE00745

SCRAPER RING

2шт.

27

155733A1

SHIM

1шт.

28

LA00738

NUT

1шт.

29

156228A1

SET SCREW

1шт.

30

155981A1

BALL

1шт.

31

162709A1

BEARING

1шт.

32

LE00746

SEAL

1шт.

33

160128A1

STOP

2шт.

34

160129A1

RING, SNAP

RING SNAP

1шт.

35

162962A1

WIPER SEAL

4шт.

36

155530A1

TUBE

1шт.

38

LK00287

HYD TUBE

Incl. 39, 40; No Longer Available, For Service Order LK00483 Tube And 863-12035 Bolts, Ref 41, 42

1шт.

39

NSS

NOT SOLD SEPARAT

Plug

1шт.

40

154503A1

O-RING

1шт.

41

LK00483

TUBE

1шт.

42

863-12035

HEX SOC SCREW,M12 x 35mm, Cl 12.9

4шт.

45

154543A1

O-RING

2шт.

46

863-12055

HEX SOC SCREW,M12 x 55mm, Cl 12.9

Used With Ref 38

4шт.

47

LD00039

CLAMP BRACKET

1шт.

52

160340A1

MOUNTING CLIP

1шт.

53

158131A1

BOLT,High Strength, M10 x 1.5 x 35mm, Cl 10.9

2шт.

54

156227A1

WASHER

2шт.

55

155717A1

COLLAR

1шт.

57

628-12055

BOLT,Hex, M12 x 1.75 x 55mm, Cl 10.9, Full Thd

1шт.

58

892-10012

LOCK WASHER,M12

1шт.

59

153631A1

LUBE NIPPLE,1/8"-27 NPT

1шт.

LZ00443

SEAL KIT

Incl. 11 - 16, 19, 21 - 26, 32

1шт.

Выбрано товаров: 50