Запчасти Case CX210LR (09-03) - TURNTABLE - ACCESS COVERS (09) - CHASSIS

Схема запчастей Case CX210LR - (09-03) - TURNTABLE - ACCESS COVERS (09) - CHASSIS
2
11
12
12
12
9
12
1
9
3
12
6
12
12
12
12
8
7
12
10
4
12
5
FIT
1:1
100%

Артикул

Название

Примечание

Количество

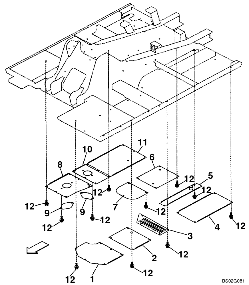
1

KRB1358

COVER

1шт.

2

KRB1258

COVER

1шт.

3

KRB1360

COVER

1шт.

4

KRB1520

COVER

1шт.

5

KRB1521

COVER

1шт.

6

KRB1522

COVER

1шт.

7

KRB1261

COVER

1шт.

8

KRB1475

COVER

1шт.

9

158950A1

COVER

1шт.

10

KRB1523

COVER

1шт.

11

KRB1524

COVER

1шт.

12

158919A1

CAPTIVE WASHER SCREW,Hex Wshr Hd, M12 x 1.75 x 35mm, Cl 10.9, Spcl

44шт.

Выбрано товаров: 0