Запчасти Case CX210LR (03-02) - FUEL LINES (P.I.N. DAC 0721099 - DAC212384) (03) - FUEL SYSTEM

Схема запчастей Case CX210LR - (03-02) - FUEL LINES (P.I.N. DAC 0721099 - DAC212384) (03) - FUEL SYSTEM
20
27
10
17
18
15
8
23
6
16
2
12
15
3
22
20
0
19
4
7
5
23
11
24
25
21
14
1
13
13
26
5
9
1
7
FIT
1:1
100%

Артикул

Название

Примечание

Количество

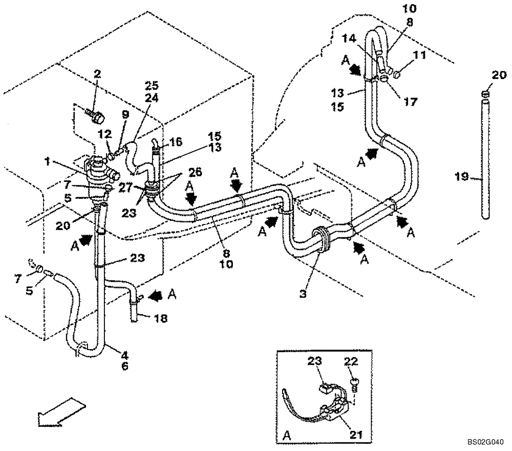
1

KRH1343

WATER TRAP

Water Separator; See Figure 03-02B

1шт.

2

627-8025

BOLT,Hex, M8 x 1.25 x 25mm, Cl 10.9, Full Thd

2шт.

896-15008

WASHER,9mm ID x 21mm OD x 2.5mm Thk

2шт.

3

KRH1393

GROMMET

1шт.

4

KHH0414

FUEL HOSE

1шт.

5

KHH0417

SPACER

2шт.

6

150441A1

PLASTIC-RUBBER TUBE

1шт.

7

KHH0438

HOSE CLIP

2шт.

8

KHH0502

FUEL HOSE

Replaces KHH0430, KHH0473

1шт.

9

KHH0417

SPACER

1шт.

10

157494A1

PLASTIC-RUBBER TUBE,22 mm ID, 27 mm OD, 2500 mm Length

Replaces 157308A1

1шт.

11

KHH0418

HOSE CLIP

1шт.

12

KHH0438

HOSE CLIP

1шт.

13

KHH0429

FUEL HOSE

1шт.

14

151470A1

SPACER

1шт.

15

158070A1

PLASTIC-RUBBER TUBE

1шт.

16

KHH0405

MOUNTING CLIP

1шт.

17

157704A1

CLAMP

1шт.

18

157634A1

TUBE

1000 mm (39-3/8 in); Cut From 150613A1; Replaces 157633A1

1шт.

19

KHH0388

HOSE

700 mm (27-1/2 in); Cut From KHH0427

1шт.

20

150067A1

MOUNTING CLIP

150 mm (6 in)

2шт.

21

150860A1

COLLAR

9шт.

22

840-168

SCREW,Pan, M6 x 1 x 8mm, Cl 4.8

9шт.

23

150496A1

MOUNTING CLIP

250 mm (10 in)

12шт.

24

KHH0472

FUEL HOSE

1шт.

25

157491A1

TUBE,500 mm Length

1шт.

26

KHH0438

HOSE CLIP

2шт.

27

194199A1

FUEL FILTER

Inline

1шт.

Valid with CX210LR Model

1шт.

Выбрано товаров: 29