Запчасти Case CX210LR (04-12) - BATTERY - CABLES (04) - ELECTRICAL SYSTEMS

Схема запчастей Case CX210LR - (04-12) - BATTERY - CABLES (04) - ELECTRICAL SYSTEMS
12
4
7
5
3
10
13
7
11
8
2
3
6
2
9
FIT
1:1
100%

Артикул

Название

Примечание

Количество

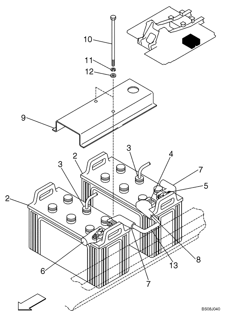
2

168798A1

DRY BATTERY

2шт.

3

150099A1

SENSOR

2шт.

4

158403A1

TERMINAL CONNECTOR

2шт.

5

150455A1

TERMINAL CONNECTOR

2шт.

6

150366A1

CAP

1шт.

7

166116A1

DUST CAP

2шт.

8

166117A1

DUST CAP

1шт.

9

161011A1

SUPPORT

1шт.

10

152821A1

BOLT,Spcl, Hex, M10 x 270mm

2шт.

11

892-11010

LOCK WASHER,M10

2шт.

12

150409A1

WASHER

10,5 x 21 x 3,2 mm

2шт.

13

KHR2430

ELECTRIC CABLE

Battery - P.I.N. DAC0721101 - DAC212483

1шт.

13

KHR12100

POS BATTERY CABLE

Battery - P.I.N. DAC212484 -

1шт.

Выбрано товаров: 13