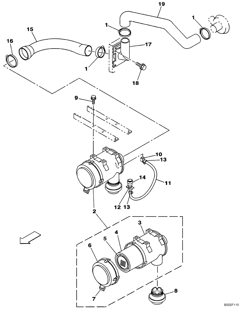
Запчасти Case CX210N (02-02) - AIR FILTRATION - DAC0721099 - DAC0721630 (02) - ENGINE

Схема запчастей Case CX210N - (02-02) - AIR FILTRATION - DAC0721099 - DAC0721630 (02) - ENGINE
14
16
19
9
17
15
1
13
2
6
1
1
10
8
7
3
5
13
4
11
18
12
FIT
1:1
100%

Артикул

Название

Примечание

Количество

1

150902A1

COLLAR

3шт.

2

KRH1319

FILTER ASSY

Incl. 3 - 7

1шт.

3

KRH1248

BODY

1шт.

4

KRH0652

AIR FILTER

Inner

1шт.

5

KRH1320

AIR FILTER

Outer

1шт.

6

KRH1249

COVER

1шт.

7

KRH1250

VALVE

1шт.

8

165437A1

CAP

1шт.

9

166052A1

BOLT

4шт.

10

KRH1237

ELBOW

1шт.

11

157779A1

HOSE

1шт.

12

KRH1236

SEAL

1шт.

13

165951A1

CLAMP

2шт.

14

KSH0050

INDICATOR

1шт.

15

KRH1294

AIR HOSE

1шт.

16

150545A1

COLLAR

1шт.

17

KRH1471

BRACKET

1шт.

18

152718A1

BOLT,Spcl, Hex Wshr, M12 x 25mm, Cl 10.9

4шт.

19

KRH1472

INTAKE AIR HOSE

1шт.

Выбрано товаров: 19