Запчасти Case CX210N (08-35) - MOUNTING - SWING MOTOR, PIN DAC0721099 - DAC0721132 (08) - HYDRAULICS

Схема запчастей Case CX210N - (08-35) - MOUNTING - SWING MOTOR, PIN DAC0721099 - DAC0721132 (08) - HYDRAULICS
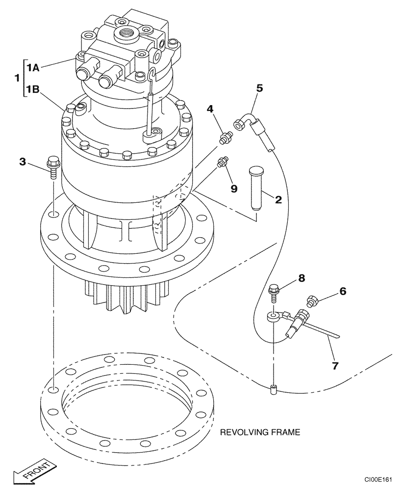
3
1
1b
2
5
1a
4
8
6
9
7
FIT
1:1
100%

Артикул

Название

Примечание

Количество

1

169325A1

MOTO-REDUCTION GEAR

Swing, With Reduction Gear; Incl. 1A, 1B; P.I.N. DAC0721099 - DAC0721132; Not Serviced As An Assembly, Order Components

1шт.

1a

KRC0185

HYDRAULIC MOTOR

P.I.N. DAC0721099 - DAC0721132; See Figure 08-36

1шт.

1b

LN00111

REDUCER

See Figure 08-38A; Replaces KRC0158, KRC0209

1шт.

LN00111R

REMAN-REDUCTION UNIT

CX210, CX210N ~DAC0721850 & ASN DAC211851 all PIN DAC0721099-DAC0721132

1шт.

LN00111C

CORE-REDUCTION UNIT

Return Number

1шт.

2

158955A1

HEADED PIN

M20 x 75

1шт.

3

166354A1

BOLT,Sems, M20 x 75mm

11шт.

4

153597A1

ADAPTER

1шт.

5

KHJ1193

HYDRAULIC HOSE,9.52 mm ID x 450.00 mm

1шт.

6

KHP0501

PLUG

1шт.

7

KHR2583

CLAMP

1шт.

8

159602A1

BOLT,Sems, Hex, M6 x 16mm

1шт.

9

153630A1

LUBE NIPPLE

1шт.

Выбрано товаров: 13