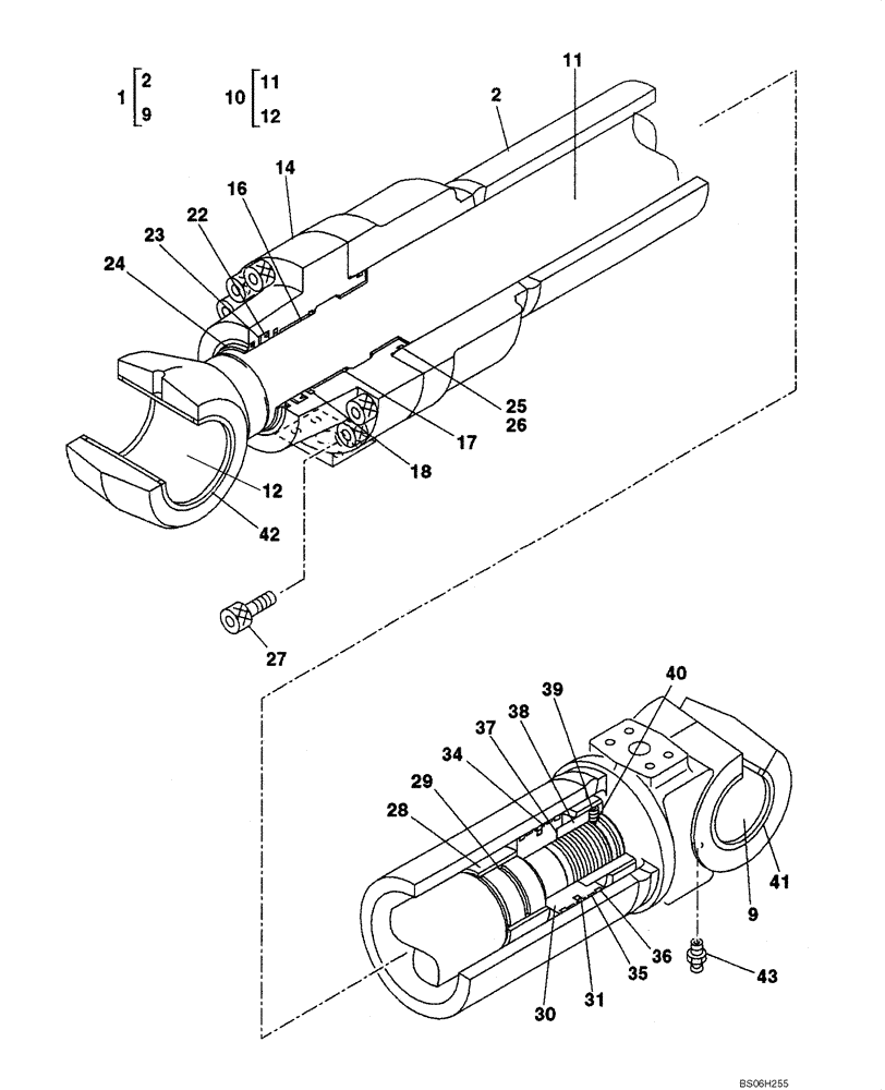
Запчасти Case CX210N (08-47B) - CYLINDER ASSY, BOOM - MODELS WITH LOAD HOLD (08) - HYDRAULICS

Схема запчастей Case CX210N - (08-47B) - CYLINDER ASSY, BOOM - MODELS WITH LOAD HOLD (08) - HYDRAULICS
36
23
2
35
17
12
28
41
16
18
26
31
25
14
30
39
11
22
9
1
37
12
42
27
43
29
10
40
34
24
11
9
38
2
FIT
1:1
100%

Артикул

Название

Примечание

Количество

KRV18920

HYDRAULIC CYLINDER

Incl. 1 - 43, Replaces KRV3238

1шт.

1

LR00651

HYD CYL SLEEVE

Incl. 2, 9

1шт.

2

NSS

NOT SOLD SEPARAT

Tube, Cylinder

1шт.

9

160532A1

BUSHING

1шт.

10

LB00583

PISTON ROD

Incl. 11, 12

1шт.

11

NSS

NOT SOLD SEPARAT

Rod, Piston

1шт.

12

160533A1

BUSHING

1шт.

14

LU00106

CYLINDER END CAP

1шт.

16

155419A1

BUSHING

1шт.

17

155697A1

RING, SNAP

RING SNAP

1шт.

18

LE00764

SCRAPER RING

1шт.

22

155131A1

RING

1шт.

23

155232A1

BACK-UP RING

1шт.

24

158147A1

WIPER SEAL

1шт.

25

154753A1

O-RING,114.4mm ID x 3.1mm Width

1шт.

26

155234A1

BACK-UP RING

1шт.

27

161059A1

BOLT,Hex Skt, M16 x 70mm, Cl 12.9

12шт.

28

158845A1

RING

1шт.

29

LE00704

SEAL

1шт.

30

160217A1

JACK PISTON

1шт.

31

155313A1

SEALING RING

1шт.

34

LE00705

BACK-UP RING

2шт.

35

LE00706

RING

2шт.

36

155308A1

RING

2шт.

37

155721A1

SHIM

2шт.

38

LA00735

SPECIAL NUT

1шт.

39

156223A1

SET SCREW

1шт.

40

155977A1

BALL

1шт.

41

160483A1

BACK-UP RING

2шт.

42

160484A1

WIPER SEAL

2шт.

43

153630A1

LUBE NIPPLE

1шт.

LZ00445

SEAL KIT

Incl. 18, 22 - 26, 29, 31, 34 - 36

1шт.

Выбрано товаров: 32