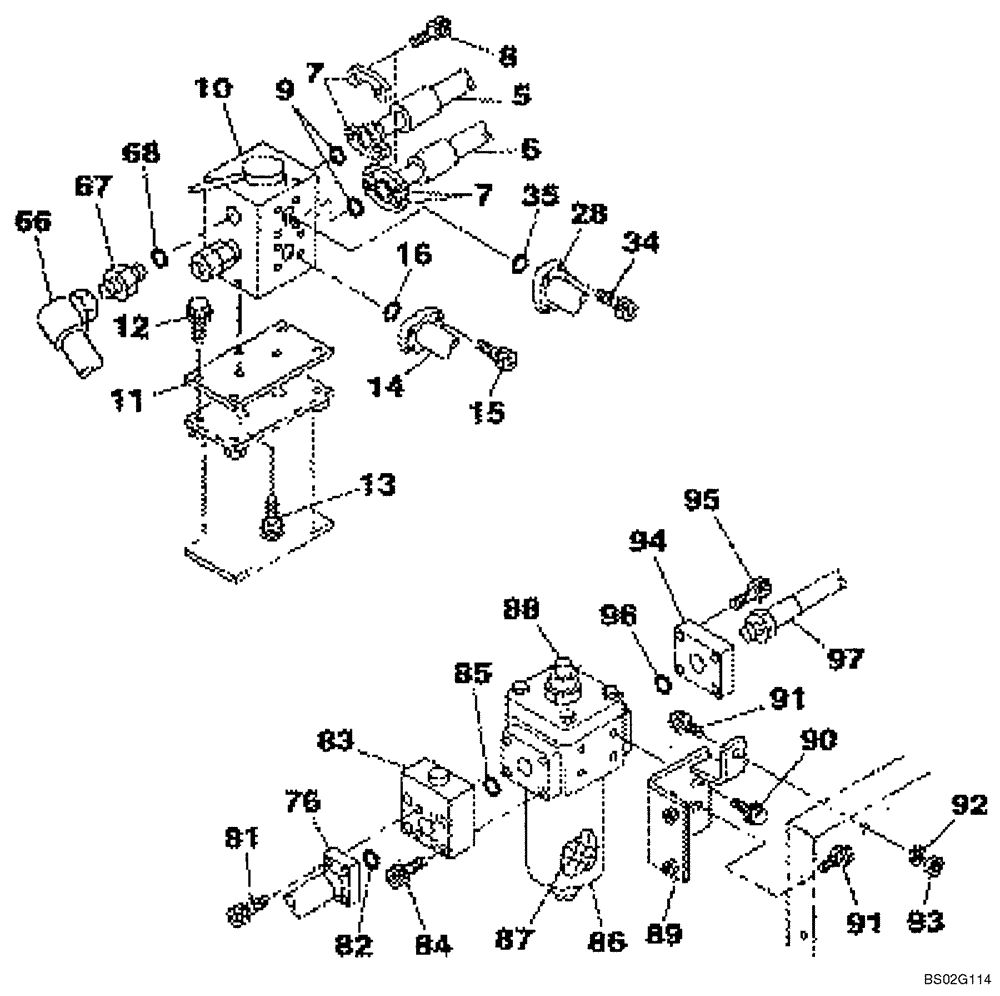
Запчасти Case CX210N (08-56) - HYDRAULICS, AUXILIARY - DOUBLE ACTING CIRCUIT, PEDAL ACTIVATED (Nov 3 2009 8:16AM) (08) - HYDRAULICS

Схема запчастей Case CX210N - (08-56) - HYDRAULICS, AUXILIARY - DOUBLE ACTING CIRCUIT, PEDAL ACTIVATED (Nov 3 2009 8:16AM) (08) - HYDRAULICS
7
12
90
81
14
93
9
15
5
13
28
95
11
7
8
94
89
87
10
83
67
97
16
86
91
34
84
85
66
92
7
88
76
82
91
96
68
35
FIT
1:1
100%

Артикул

Название

Примечание

Количество

5

KRJ6652

HYDRAULIC HOSE,25.40 mm ID x 800.00 mm

See Figure 08-53

1шт.

6

KRJ6653

HYDRAULIC HOSE,25.40 mm ID x 650.00 mm

See Figure 08-53

1шт.

7

153459A1

FLANGE

Split

4шт.

8

862-10030

HEX SOC SCREW,M10 x 30mm, Cl 12.9

8шт.

9

155211A1

O-RING

2шт.

10

KHJ1609

VALVE

Directional; See Figure(s) 08-53, 08-66

1шт.

11

KRJ6664

SUPPORT

1шт.

12

166352A1

BOLT

4шт.

13

108R010Y016R

BOLT

3шт.

14

KRJ6649

PIPE ASSY.

1шт.

15

862-10035

HEX SOC SCREW,M10 x 35mm, Cl 12.9

4шт.

16

154548A1

O-RING

1шт.

28

KRJ6650

PIPE ASSY.

1шт.

34

862-10035

HEX SOC SCREW,M10 x 35mm, Cl 12.9

4шт.

35

154548A1

O-RING

1шт.

66

KRJ6651

PIPE ASSY.

1шт.

67

153001A1

ADAPTER

Incl. 68

1шт.

68

154503A1

O-RING

1шт.

76

KRJ6179

TUBE ASSY.

1шт.

81

862-10030

HEX SOC SCREW,M10 x 30mm, Cl 12.9

4шт.

82

154548A1

O-RING

1шт.

83

KRJ5934

MANIFOLD

1шт.

84

862-10055

HEX SOC SCREW,M10 x 55mm, Cl 12.9

4шт.

85

154625A1

O-RING

1шт.

86

159704A1

FILTER ASSY

Incl. 87, 88; For Additional Components, See Figure 08-70

1шт.

87

159705A1

HYDRAULIC OIL FILTER

1шт.

88

159706A1

INDICATOR

1шт.

89

KRJ6180

BRACKET

1шт.

90

166351A1

BOLT,Sems, M10 x 20mm

4шт.

91

166352A1

BOLT

3шт.

92

150811A1

WASHER

M12

1шт.

93

829-1412

NUT,M12, Cl 10.9

1шт.

94

KRJ5954

FLANGE

1шт.

95

862-10025

HEX SOC SCREW,M10 x 25mm, Cl 12.9

4шт.

97

154625A1

O-RING

1шт.

Выбрано товаров: 35