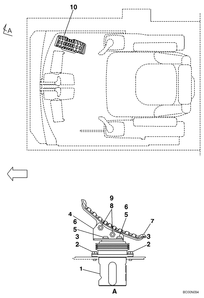
Запчасти Case CX210N (09-09A) - AUXILIARY HYDRAULIC CONTROL (09) - CHASSIS

Схема запчастей Case CX210N - (09-09A) - AUXILIARY HYDRAULIC CONTROL (09) - CHASSIS
10
9
3
8
2
2
5
4
6
6
3
5
7
1
FIT
1:1
100%

Артикул

Название

Примечание

Количество

1

KRJ5864

CONTROL BLOCK

See Figure 08-65

1шт.

2

166052A1

BOLT

M10 x 25; 10,9

2шт.

3

150604A1

WASHER

If Used

2шт.

4

KHJ1643

BRACKET

1шт.

5

165404A1

BOLT,Hex Skt, M10 x 20mm

2шт.

6

150604A1

WASHER

2шт.

7

KHJ1629

PEDAL

1шт.

8

KHJ1820

BOLT,Hex Skt Hd

2шт.

9

150604A1

WASHER

2шт.

10

163782A1

SKIRT COVER

1шт.

Выбрано товаров: 10