Запчасти Case CX210N (09-10) - MAT, FLOOR - OPERATORS COMPARTMENT (09) - CHASSIS

Схема запчастей Case CX210N - (09-10) - MAT, FLOOR - OPERATORS COMPARTMENT (09) - CHASSIS
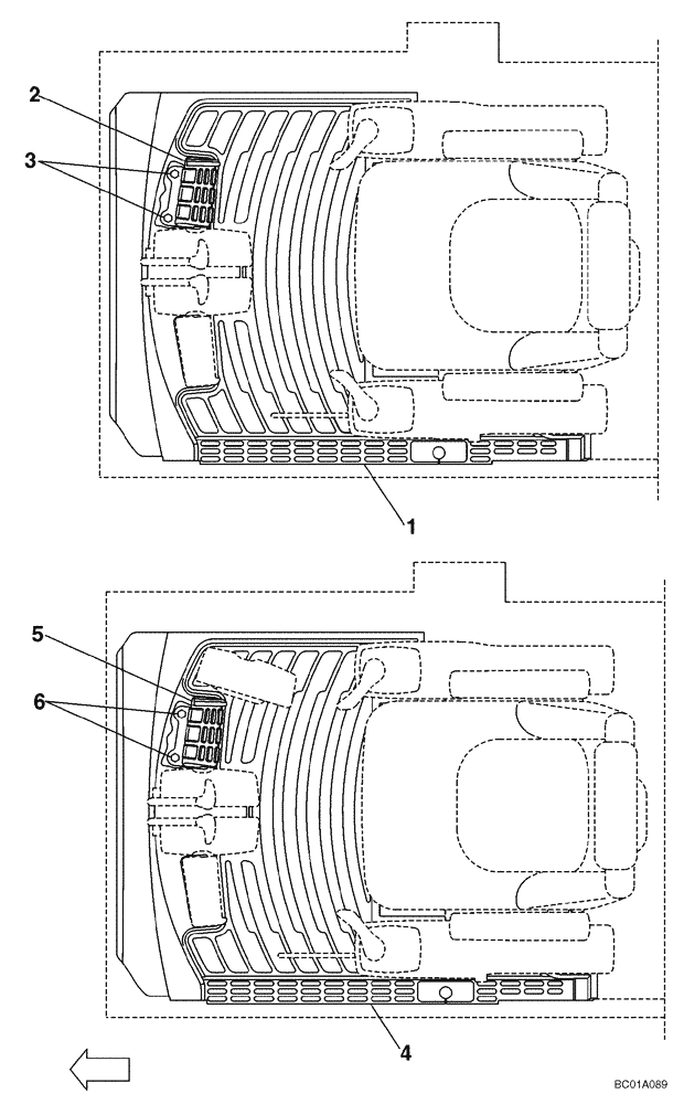
4
3
5
2
1
6
FIT
1:1
100%

Артикул

Название

Примечание

Количество

MODELS WITHOUT AUXILIARY HYDRAULICS

1шт.

1

KHJ1611

FLOOR MAT

1шт.

2

KHJ1638

FOOT REST

Right Hand

1шт.

3

627-10025

BOLT,Hex, M10 x 1.5 x 25mm, Cl 10.9, Full Thd

4шт.

896-11010

WASHER,11mm ID x 21mm OD x 2.5mm Thk

4шт.

3a

KHJ1636

FOOT REST

Left Hand, Not Illustrated

1шт.

MODELS WITH AUXLIARY HYDRAULICS

1шт.

4

KHJ1614

FLOOR MAT

1шт.

5

KHJ1638

FOOT REST

Right Hand

1шт.

6

627-10025

BOLT,Hex, M10 x 1.5 x 25mm, Cl 10.9, Full Thd

4шт.

896-11010

WASHER,11mm ID x 21mm OD x 2.5mm Thk

4шт.

7

KHJ1636

FOOT REST

Left Hand, Not Illustrated

1шт.

Выбрано товаров: 12