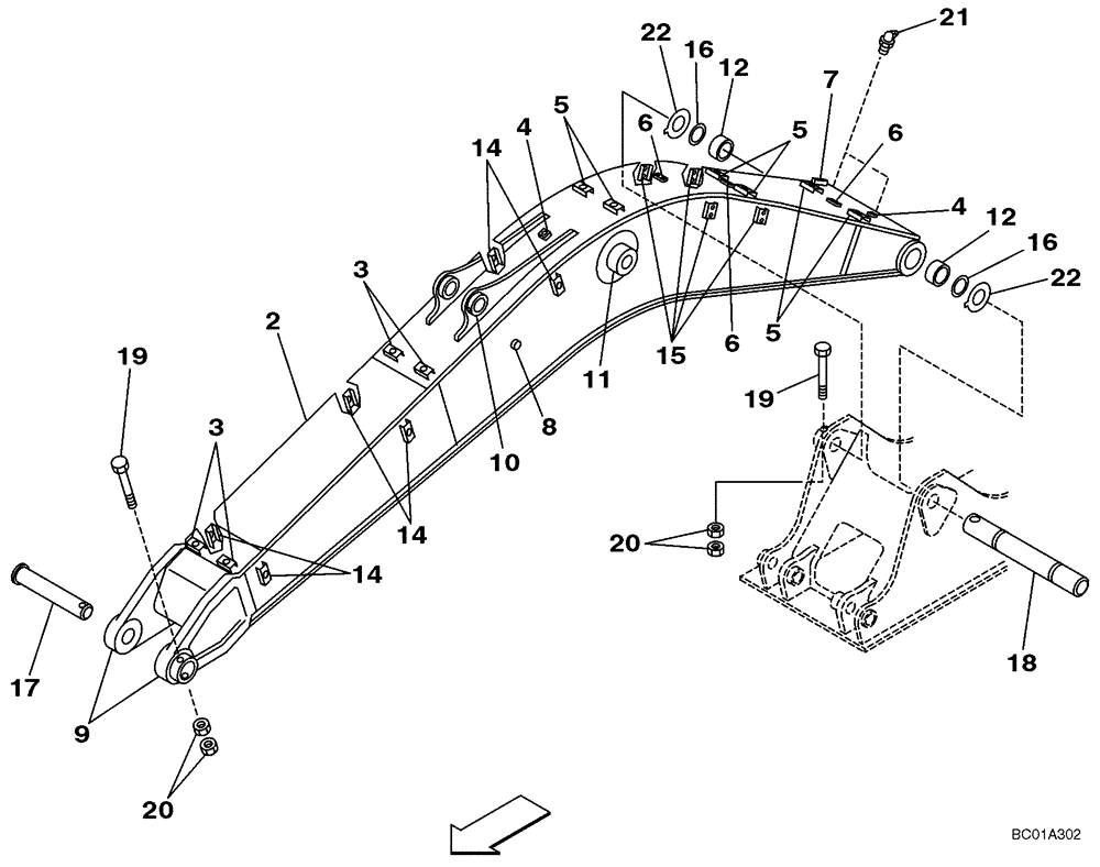
Запчасти Case CX210N (09-35) - BOOM - 5,70 METER (18 FT 8 IN) (09) - CHASSIS

Схема запчастей Case CX210N - (09-35) - BOOM - 5,70 METER (18 FT 8 IN) (09) - CHASSIS
21
20
3
17
16
5
9
6
5
19
3
5
12
7
14
6
8
11
14
18
4
16
14
20
4
22
15
19
12
10
22
6
2
FIT
1:1
100%

Артикул

Название

Примечание

Количество

5,70 Meter (18 Ft 8 In)

1шт.

KRV17900

BOOM

Incl. 2 - 16; Replaces KRV3067, KRV10200

1шт.

2

NSS

NOT SOLD SEPARAT

Boom

1шт.

3

151255A1

BAR

4шт.

4

KRV2268

BAR

2шт.

5

152014A1

BAR

6шт.

6

KRV2269

BAR

3шт.

7

150846A1

MANIFOLD

1шт.

8

150255A1

BAR

1шт.

9

KRV2384

BOSS

1шт.

10

159650A1

COLLAR

1шт.

11

KRV2385

BOSS

2шт.

12

KRV2397

SELF LUB RING

2шт.

14

162261A1

BAR

6шт.

15

162262A1

BAR

4шт.

16

159648A1

SEAL,90mm ID x 105mm OD x 5mm Thk

2шт.

17

KRV2652

PIN

1шт.

18

KRV2653

PIN

1шт.

19

514-1403

BOLT,Hex, M24 x 2 x 180mm, Cl 10.9

2шт.

20

829-13424

NUT,M24 x 2, Cl 10

4шт.

21

153631A1

LUBE NIPPLE,1/8"-27 NPT

1шт.

22

KRV2390

SHIM

2шт.

Выбрано товаров: 22