Запчасти Case CX210N (03-07) - FUEL INJECTION PUMP (03) - FUEL SYSTEM

Схема запчастей Case CX210N - (03-07) - FUEL INJECTION PUMP (03) - FUEL SYSTEM
14
68
64
69
62
75
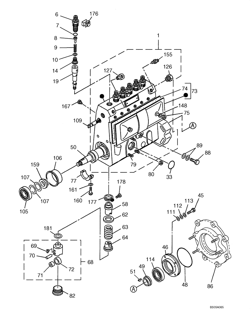
1
106
9
176
8
107
74
82
86
72
178
73
49
51
111
70
155
114
148
161
107
181
33
63
45
177
112
79
89
167
58
46
7
80
105
109
113
126
10
50
88
159
48
127
71
6
19
160
77
FIT
1:1
100%

Артикул

Название

Примечание

Количество

288866A1

PUMP, FUEL INJECTION

PUMP, INJECTION Incl. 1 - 181; Also Includes Parts on Figure(s) 03-08, 03-08A

1шт.

87430496R

REMAN-INJECTION PUMP

CX210N ~DAC0721850 & ASN DAC211851, Reman for New P/N 288866A1

1шт.

87430496C

CORE-INJECTION PUMP

Return Number

1шт.

1

437843A1

HOUSING

Incl. 79, 126, 127, 155

1шт.

6

289280A1

HOLDER

6шт.

7

289950A1

O-RING

6шт.

8

289281A1

ORIFICE

6шт.

9

433848A1

SPRING

6шт.

10

289251A1

GASKET

6шт.

14

289279A1

VALVE

6шт.

19

289717A1

PLUNGER

6шт.

33

355393A1

GASKET

1шт.

45

433850A1

BOLT

4шт.

46

433851A1

COVER

Replaces 440690A1

1шт.

48

433852A1

GASKET,Dia ext 59mm / Dia int 55mm / Tore 2mm

1шт.

49

433854A1

RING

1шт.

50

437847A1

CAMSHAFT

1шт.

51

433856A1

KEY

1шт.

58

433857A1

SLEEVE

6шт.

62

289276A1

SEAT

6шт.

63

289273A1

SPRING

6шт.

64

289277A1

SEAT

6шт.

68

289261A1

TAPPET

Incl. 69 - 72

6шт.

69

289270A1

GUIDE

1шт.

70

289934A1

PIN

1шт.

71

289253A1

BUSHING

1шт.

72

289267A1

ROLLER

1шт.

73

289248A1

COVER

Incl. 74

1шт.

Incl. 74

1шт.

74

289308A1

GASKET

1шт.

75

289249A1

SCREW

2шт.

77

437845A1

BEARING HALF

1шт.

79

289933A1

STUD

3шт.

80

289625A1

NUT

3шт.

82

289252A1

PLUG

6шт.

86

437846A1

BRACKET

1шт.

88

289250A1

BOLT

1шт.

89

289282A1

GASKET

2шт.

102

433859A1

VALVE POPPET

Not Illustrated

1шт.

102a

288836A1

VALVE POPPET

Not Illustrated

1шт.

103

426423A1

GASKET

Not Illustrated

2шт.

105

289263A1

BALL BEARING

1шт.

105

289262A1

BALL BEARING

1шт.

106

433860A1

RING

1шт.

107

433861A1

SHIM

0,10 mm (0,0039 in)

1шт.

107

289937A1

SHIM

0,12 mm (0,0047 in)

1шт.

107

289938A1

SHIM

0,14 mm (0,0055 in)

1шт.

107

289939A1

SHIM

0,16 mm (0,0063 in)

1шт.

107

289940A1

SHIM

0,18 mm (0,0071 in)

1шт.

107

289941A1

SHIM

0,50 mm (0,0197 in)

1шт.

107

289265A1

SHIM

0,30 mm (0,0118 in)

1шт.

107

289266A1

SHIM

1,00 mm (0,0394 in)

1шт.

107

289272A1

SHIM

0,70 mm (0,0276 in)

1шт.

109

289540A1

RACK

1шт.

111

433862A1

GASKET

4шт.

112

433863A1

SHIM

4шт.

113

433864A1

WASHER

4шт.

114

433865A1

TAPERED BEARING

1шт.

126

289945A1

ADAPTER

1шт.

127

289254A1

ADAPTER

1шт.

148

355414A1

GASKET

2шт.

155

289255A1

BOLT

Not Illustrated

1шт.

159

289264A1

RING

1шт.

160

289269A1

SCREW

2шт.

161

289936A1

GASKET

2шт.

167

289275A1

BOLT

1шт.

176

289530A1

LARGE PLATE

PLATE, LARGE

3шт.

177

289942A1

PINION

6шт.

178

289944A1

SCREW

6шт.

181

289516A1

SHIM

0,20 mm (0,0079 in)

1шт.

181

289517A1

SHIM

0,25 mm (0,0098 in)

1шт.

181

289519A1

SHIM

0,30 mm (0,0118 in)

1шт.

181

289518A1

SHIM

0,35 mm (0,0137 in)

1шт.

181

289520A1

SHIM

0,40 mm (0,0157 in)

1шт.

181

289522A1

SHIM

0,45 mm (0,0177 in)

1шт.

181

289521A1

SHIM

0,50 mm (0,0197 in)

1шт.

181

289512A1

SHIM

0,55 mm (0,0217 in)

1шт.

181

289503A1

SHIM

0,60 mm (0,0236 in)

1шт.

181

289513A1

SHIM

0,65 mm (0,0256 in)

1шт.

181

289504A1

SHIM

0,70 mm (0,0276 in)

1шт.

181

289514A1

SHIM

0,75 mm (0,0295 in)

1шт.

181

289515A1

SHIM

0,85 mm (0,0335 in)

1шт.

181

289506A1

SHIM

0,90 mm (0,0354 in)

1шт.

181

289946A1

SHIM

0,95 mm (0,0374 in)

1шт.

181

289507A1

SHIM

1,00 mm (0,0394 in)

1шт.

181

289947A1

SHIM

1,05 mm (0,0413 in)

1шт.

181

289508A1

SHIM

1,10 mm (0,0433 in)

1шт.

181

289948A1

SHIM

1,15 mm (0,0453 in)

1шт.

181

289509A1

SHIM

1,20 mm (0,0472 in)

1шт.

181

289949A1

SHIM

1,25 mm (0,0492 in)

1шт.

181

289510A1

SHIM

1,30 mm (0,0512 in)

1шт.

181

289527A1

SHIM

1,35 mm (0,0531 in)

1шт.

181

289511A1

SHIM

1,40 mm (0,0551 in)

1шт.

181

289528A1

SHIM

1,45 mm (0,0570 in)

1шт.

181

289525A1

SHIM

1,50 mm (0,0591 in)

1шт.

181

289529A1

SHIM

1,55 mm (0,0610 in)

1шт.

181

289526A1

SHIM

1,60 mm (0,0630 in)

1шт.

Выбрано товаров: 97