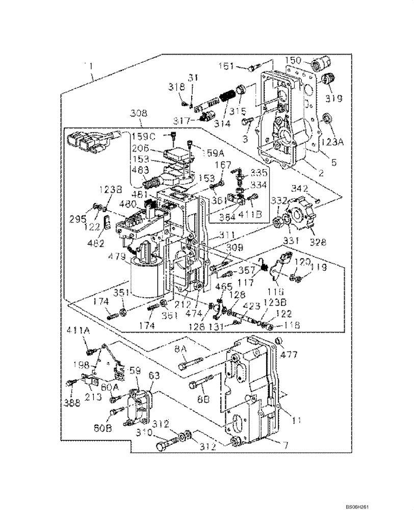
Запчасти Case CX210N (03-08A) - FUEL INJECTION PUMP - GOVERNOR CONTROL (03) - FUEL SYSTEM

Схема запчастей Case CX210N - (03-08A) - FUEL INJECTION PUMP - GOVERNOR CONTROL (03) - FUEL SYSTEM
119
174
331
153
123b
123a
328
480
128
379
128
5
411a
63
361
122
388
118
310
59
315
123b
319
159a
334
117
351
198
481
309
423
122
159c
2
8b
206
411b
151
342
150
153
465
295
312
482
31
357
308
174
477
318
332
474
483
116
212
361
131
120
1
50b
167
317
60a
364
311
213
8a
314
11
335
312
7
3
FIT
1:1
100%

Артикул

Название

Примечание

Количество

87430496

PUMP, FUEL INJECTION

PUMP, INJECTION Incl. 1 - 483; Also Includes Parts On Figure(s) 03 -07, 03 -08A

1шт.

87430496R

REMAN-INJECTION PUMP

CX210N ~DAC0721850 & ASN DAC211851

1шт.

87430496C

CORE-INJECTION PUMP

Return Number

1шт.

1

87448761

GOVERNOR

Incl. 2 - 483

1шт.

2

434209A1

CASE

1шт.

3

440326A1

BOLT

M6 x 15

6шт.

5

434210A1

GASKET

1шт.

7

434211A1

COVER

1шт.

8a

87421583

BOLT

6шт.

8b

87421584

BOLT

2шт.

11

434215A1

GASKET

1шт.

31

437864A1

WASHER

1шт.

59

434216A1

COVER

1шт.

60a

289555A1

BOLT

3шт.

60b

87448765

BOLT

1шт.

63

289976A1

O-RING

1шт.

116

87448766

SLEEVE

1шт.

117

87448767

SPRING

1шт.

118

87421587

COLLAR

1шт.

119

87421591

NUT

1шт.

120

289396A1

WASHER

1шт.

122

289795A1

WASHER

2шт.

123a

434219A1

SEAL

1шт.

123b

87421588

SEAL

2шт.

128

87421589

SHIM

2шт.

131

87421590

SCREW

1шт.

150

434220A1

ADAPTER

1шт.

151

434221A1

BOLT

1шт.

153

87421592

GASKET

2шт.

159a

87421595

BOLT

2шт.

159c

87421597

BOLT

4шт.

167

87421598

BOLT

4шт.

174

87421599

SCREW

2шт.

198

87448768

BRACKET

1шт.

206

87421602

COVER

1шт.

212

87448769

PLATE

1шт.

213

434223A1

CIRCLIP

1шт.

295

87421604

RING

1шт.

308

87448770

ACTUATOR

1шт.

309

434225A1

BOLT

2шт.

310

434226A1

BOLT

1шт.

311

437860A1

GASKET

1шт.

312

426423A1

GASKET

14,2 ID x 19,2 OD

2шт.

314

437851A1

SPRING

1шт.

315

437857A1

SPRING SEAT

1шт.

317

440693A1

CONNECTOR, ELEC

CONNECTOR

1шт.

318

440694A1

BOLT

1шт.

319

289302A1

CAP

1шт.

328

87448771

GEAR

1шт.

331

440267A1

WASHER

1шт.

332

440304A1

NUT

1шт.

334

87421606

NUT

1шт.

335

87421607

SENSOR

1шт.

342

362149A1

SHIM

1шт.

351

87421608

NUT

2шт.

357

87421609

BOLT

4шт.

361

87421610

WASHER

4шт.

364

87421611

BRACKET

1шт.

388

440251A1

BOLT

2шт.

411a

440251A1

BOLT

3шт.

411b

87421612

BOLT

2шт.

423

87421614

SHAFT

1шт.

465

87421615

LINK

1шт.

474

87421616

ADAPTER

1шт.

477

440310A1

BUSHING

2шт.

479

87448772

GOVERNOR

1шт.

480

87448773

ECU

1шт.

481

87421619

GROMMET

1шт.

482

87421620

GASKET

1шт.

483

87421621

CABLE

1шт.

Выбрано товаров: 70