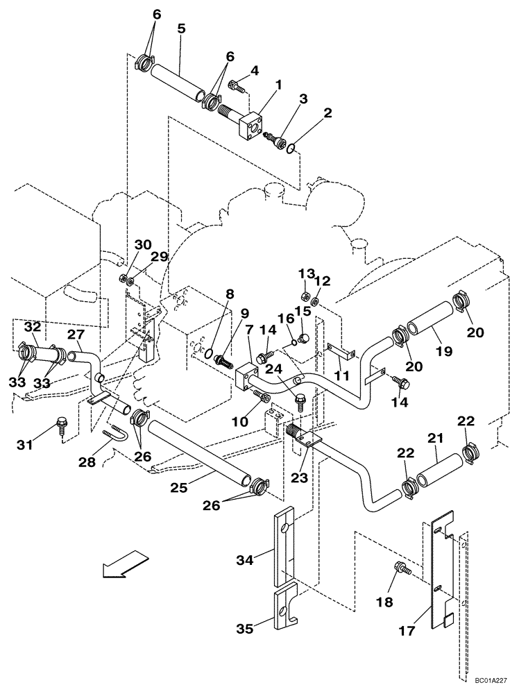
Запчасти Case CX210N (08-05) - HYDRAULICS - RESERVOIR RETURN (08) - HYDRAULICS

Схема запчастей Case CX210N - (08-05) - HYDRAULICS - RESERVOIR RETURN (08) - HYDRAULICS
23
17
22
6
15
20
31
5
32
1
2
10
28
6
34
21
29
35
3
18
11
19
26
14
33
14
20
26
27
25
33
16
24
9
12
8
22
13
4
30
7
FIT
1:1
100%

Артикул

Название

Примечание

Количество

1

KRJ5780

TUBE ASSY.,35.7 mm ID x 42.7 mm OD

1шт.

2

154641A1

O-RING

1шт.

3

159054A1

VALVE

1шт.

4

862-10060

HEX SOC SCREW,M10 x 60mm, Cl 12.9

4шт.

5

158803A1

HOSE

265 mm (10-7/16 in)

1шт.

6

150890A1

CLIP,ELECTRICAL

4шт.

7

KRJ6439

TUBE ASSY.,35.7 mm ID x 42.7 mm OD

1шт.

8

154609A1

O-RING

1шт.

9

159056A1

VALVE

1шт.

10

862-10060

HEX SOC SCREW,M10 x 60mm, Cl 12.9

4шт.

11

KRJ6440

BRACKET

1шт.

12

151161A1

WASHER

M12

2шт.

13

829-1412

NUT,M12, Cl 10.9

1шт.

14

627-12030

BOLT,Hex, M12 x 1.75 x 30mm, Cl 10.9, Full Thd

2шт.

896-11012

WASHER,13.5mm ID x 24mm OD x 3mm Thk

2шт.

15

162659A1

PLUG

1шт.

16

154523A1

O-RING

1шт.

17

KRJ6441

BRACKET

1шт.

18

152718A1

BOLT,Spcl, Hex Wshr, M12 x 25mm, Cl 10.9

2шт.

19

158803A1

HOSE

265 mm (10-7/16 in)

1шт.

20

150890A1

CLIP,ELECTRICAL

4шт.

21

158803A1

HOSE

265 mm (10-7/16 in)

1шт.

22

150890A1

CLIP,ELECTRICAL

4шт.

23

KRJ6442

TUBE ASSY.,35.7 mm ID x 42.7 mm OD

1шт.

24

627-12030

BOLT,Hex, M12 x 1.75 x 30mm, Cl 10.9, Full Thd

2шт.

896-11012

WASHER,13.5mm ID x 24mm OD x 3mm Thk

2шт.

25

KRJ3851

HOSE

1шт.

26

150890A1

CLIP,ELECTRICAL

4шт.

27

KRJ6089

TUBE ASSY.

1шт.

28

152065A1

U-BOLT,M10 x 56mm W x 68mm L

BOLT "U"

1шт.

29

150409A1

WASHER

10,5 x 21 x 3,2 mm

2шт.

30

829-1410

NUT,M10 x 1.5, Cl 10.9

2шт.

31

627-12030

BOLT,Hex, M12 x 1.75 x 30mm, Cl 10.9, Full Thd

1шт.

896-11012

WASHER,13.5mm ID x 24mm OD x 3mm Thk

1шт.

32

158803A1

HOSE

265 mm (10-7/16 in)

1шт.

33

150890A1

CLIP,ELECTRICAL

4шт.

34

KRJ6443

FOAM INSULATION

1шт.

35

KRJ6446

FOAM INSULATION

1шт.

Выбрано товаров: 38