Запчасти Case CX225SR (08-14) - HYDRAULICS - BOOM CYLINDER, MODELS WITH LOAD HOLD (08) - HYDRAULICS

Схема запчастей Case CX225SR - (08-14) - HYDRAULICS - BOOM CYLINDER, MODELS WITH LOAD HOLD (08) - HYDRAULICS
24
42
32
36
41
45
37
34
32
27
39
49
29
30
23
31
46
30
50
25
47
27
40
43
24
33
42
1
48
34
26
28
33
44
34
48
38
35
26
34
29
34
1
28
39
34
46
31
25
47
28
28
FIT
1:1
100%

Артикул

Название

Примечание

Количество

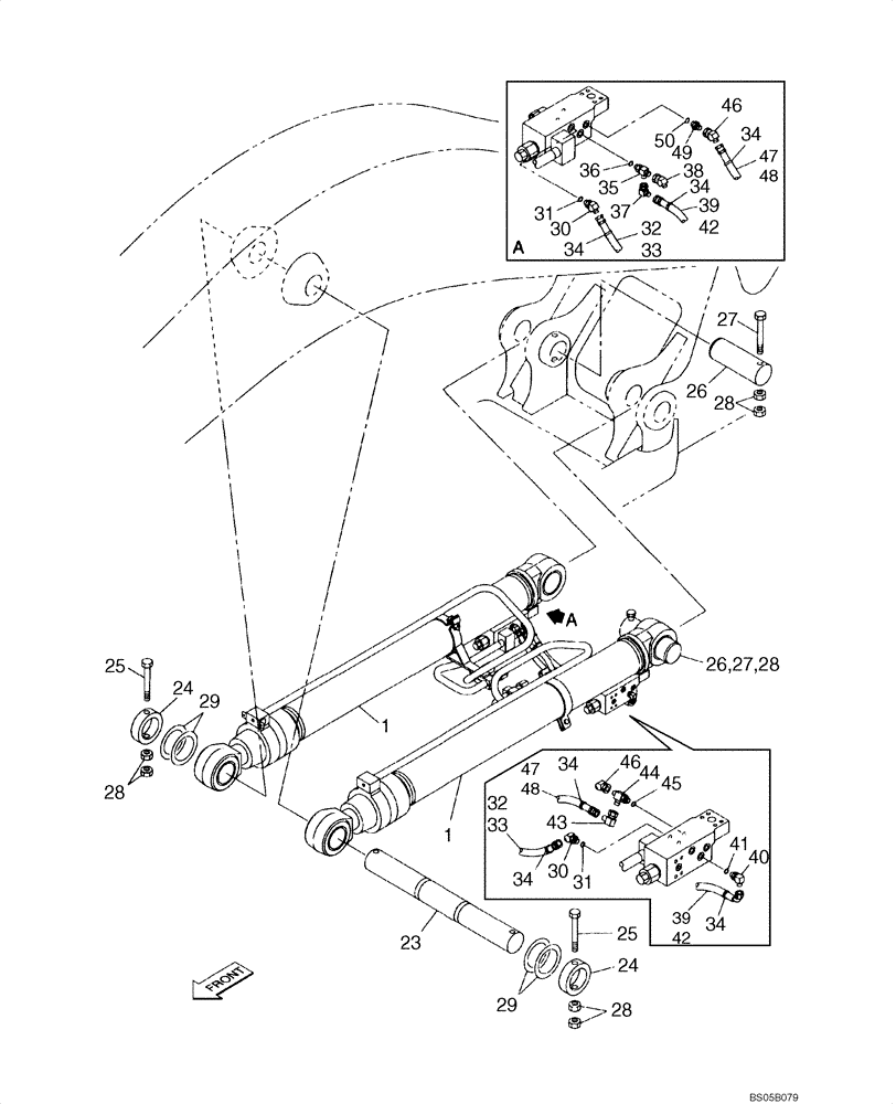
1

KRV3485

HYDRAULIC CYLINDER

Boom, See Figure 08-76

2шт.

1

KRV3485R

REMAN-HYD CYLINDER

Boom

2шт.

1

KRV3485C

CORE-HYD CYLINDER

Return Number

2шт.

23

KRV3502

PIN

1шт.

24

159440A1

COLLAR

2шт.

25

514-1218

BOLT,Hex, M20 x 1.5 x 180mm, Cl 10.9

Replaces 514-1222

2шт.

26

159446A1

PIN,90mm OD x 261mm L

2шт.

27

514-1218

BOLT,Hex, M20 x 1.5 x 180mm, Cl 10.9

Replaces 514-1222

2шт.

28

829-11420

NUT,M20 x 1.5, Cl 10

8шт.

29

159458A1

ADJUSTING PLATE

1шт.

30

150933A1

ELBOW

Incl. 31

2шт.

31

154467A1

O-RING,10.8mm ID x 2.4mm Width

1шт.

32

KRV3386

HYDRAULIC HOSE,500.00 mm

1шт.

33

157766A1

PLASTIC-RUBBER TUBE,15 mm ID, 19.5 mm OD, 500 mm Length

500 mm (19-3/4 in)

1шт.

34

150067A1

MOUNTING CLIP

6шт.

35

159497A1

TEE

Incl. 36

1шт.

36

154467A1

O-RING,10.8mm ID x 2.4mm Width

1шт.

37

163814A1

ELBOW

1шт.

38

KHJ1222

ELBOW

1шт.

39

KHJ1447

HYDRAULIC HOSE

650 mm (25-5/8 in)

1шт.

40

150913A1

ELBOW,90 Degree, 1/4" O-Ring x 1/4"

Incl. 41

1шт.

41

154467A1

O-RING,10.8mm ID x 2.4mm Width

1шт.

42

157767A1

PLASTIC-RUBBER TUBE

1шт.

43

153526A1

ELBOW

1шт.

44

162827A1

TEE

Incl. 45

1шт.

45

154467A1

O-RING,10.8mm ID x 2.4mm Width

1шт.

46

KHJ1739

ELBOW

2шт.

47

166162A1

HYDRAULIC HOSE,9.50 mm ID x 500.00 mm

1шт.

48

150770A1

PLASTIC-RUBBER TUBE

1шт.

49

152747A1

ADAPTER

Incl. 50

1шт.

50

154467A1

O-RING,10.8mm ID x 2.4mm Width

1шт.

Выбрано товаров: 31