Запчасти Case CX225SR (02-02) - AIR CLEANER (02) - ENGINE

Схема запчастей Case CX225SR - (02-02) - AIR CLEANER (02) - ENGINE
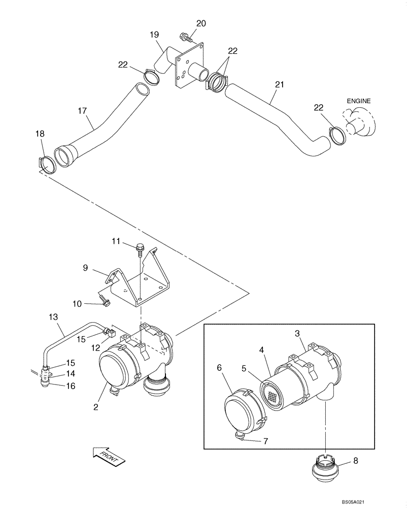
12
4
10
6
15
2
13
3
22
22
18
14
22
20
15
8
21
5
11
17
9
19
7
16
FIT
1:1
100%

Артикул

Название

Примечание

Количество

2

KRH1319

FILTER ASSY

Incl. 3 - 7

1шт.

3

KRH1248

BODY

1шт.

4

KRH0652

AIR FILTER

1шт.

5

KRH1320

AIR FILTER

1шт.

6

KRH1249

COVER

1шт.

7

KRH1250

VALVE

1шт.

8

165437A1

CAP

1шт.

9

KRH1536

BREATHER

1шт.

10

166351A1

BOLT,Sems, M10 x 20mm

4шт.

11

166052A1

BOLT

4шт.

12

KRH1237

ELBOW

1шт.

13

157780A1

HOSE

1шт.

14

KRH1236

SEAL

1шт.

15

165951A1

CLAMP

2шт.

16

KSH0050

INDICATOR

1шт.

17

KRH1534

AIR HOSE

1шт.

18

150545A1

COLLAR

1шт.

19

KRH1535

BREATHER

1шт.

20

166052A1

BOLT

4шт.

21

KRH1533

AIR HOSE

1шт.

22

150902A1

COLLAR

4шт.

Выбрано товаров: 21