Качественные детали и логистика
Оригинальные и аналоговые запчасти с доставкой по России, Казахстану и Беларуси
©2022 PartSell ООО "Система" ИНН 2463123282 ОГРН 1212400004838
Центральный офис: г. Красноярск, Академика Киренского, д.87, пом.4
Телефон: 8 (800) 777-65-74 Email: zakaz@partsell.ru
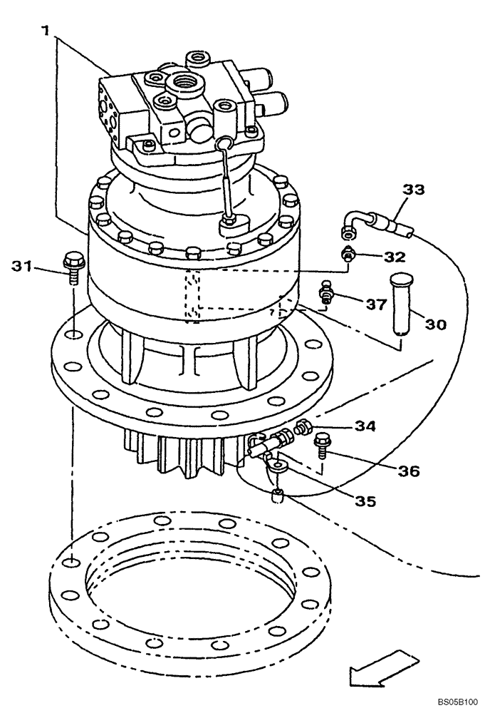
(08-51) - MOUNTING - SWING MOTOR (KRC0228)
№
Артикул
Название
Примечание
Количество
1
KRC0228
MOTO-REDUCTION GEAR
See Figure 08-52, 08-53
1шт.
KRC0228R
REMAN-MOTO REDUCTION
CX225SR CRAWLER EXCAVATOR (NORTH AMERICA)
KRC0228C
CORE-MOTO-REDUCTION UNIT
Return Number
30
158955A1
HEADED PIN
31
166354A1
BOLT,Sems, M20 x 75mm
11шт.
32
153597A1
ADAPTER
33
KHJ1639
HYDRAULIC HOSE
34
KHP0501
PLUG
35
KHR2583
CLAMP
36
159602A1
BOLT,Sems, Hex, M6 x 16mm
37
153630A1
LUBE NIPPLE
Выбрано товаров: 0