Запчасти Case CX225SR (08-61) - VALVE ASSY, CONTROL (08) - HYDRAULICS

Схема запчастей Case CX225SR - (08-61) - VALVE ASSY, CONTROL (08) - HYDRAULICS
52
54
56
55
33
55
31
32
31
50
117
66
48
49
51
56
33
32
54
33
46
45
47
120
119
32
FIT
1:1
100%

Артикул

Название

Примечание

Количество

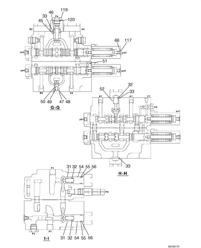
KRJ6911

CONTROL VALVE

Includes All Parts on Figures 08-57 - 08-62

1шт.

31

LJ00727

VALVE POPPET

2шт.

32

LG00341

SPRING

2шт.

33

154539A1

O-RING

2шт.

45

LJ00728

VALVE POPPET

1шт.

46

LG00342

SPRING

1шт.

47

155464A1

PLUG

1шт.

48

155222A1

O-RING

1шт.

49

156026A1

SPRING

1шт.

50

LJ00972

VALVE POPPET

1шт.

51

NSS

NOT SOLD SEPARAT

Ball

1шт.

52

LJ00730

VALVE POPPET

1шт.

54

LH00251

SPACER

2шт.

55

154507A1

O-RING

2шт.

56

153987A1

BACK-UP RING

2шт.

66

154467A1

O-RING,10.8mm ID x 2.4mm Width

1шт.

117

LK00301

PLUG

1шт.

118

LK00302

PLUG

Incl. 119, 120

1шт.

119

165836A1

PLUG

1шт.

120

154503A1

O-RING

1шт.

Выбрано товаров: 20