Запчасти Case CX225SR (08-71) - VALVE ASSY - PILOT CONTROL LINES (08) - HYDRAULICS

Схема запчастей Case CX225SR - (08-71) - VALVE ASSY - PILOT CONTROL LINES (08) - HYDRAULICS
12
7
16
11
14
9
10
15
6
8
10
4
2
5
3
7
8
1
6
1
6
9
11
10
10
10
12
FIT
1:1
100%

Артикул

Название

Примечание

Количество

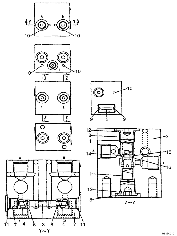
KHJ1829

VALVE

Incl. 1 - 16

1шт.

1

LG00377

COMPRESSION SPRING

4шт.

2

NSS

NOT SOLD SEPARAT

Body

1шт.

3

LJ00841

SPOOL

1шт.

4

LG00378

COMPRESSION SPRING

2шт.

5

NSS

NOT SOLD SEPARAT

Name Plate

1шт.

6

LH00287

RETAINER

2шт.

7

160083A1

PLUG

2шт.

8

155515A1

PLUG

4шт.

9

168229A1

RIVET

2шт.

10

NSS

NOT SOLD SEPARAT

Ball, Steel

6шт.

11

154467A1

O-RING,10.8mm ID x 2.4mm Width

2шт.

12

154475A1

O-RING

4шт.

LJ01083

PLUNGER

Incl. 14 - 16

2шт.

14

NSS

NOT SOLD SEPARAT

Plunger

1шт.

15

NSS

NOT SOLD SEPARAT

Ring

1шт.

16

NSS

NOT SOLD SEPARAT

Orifice

1шт.

Выбрано товаров: 17