Запчасти Case CX225SR (08-72) - VALVE, SOLENOID (08) - HYDRAULICS

Схема запчастей Case CX225SR - (08-72) - VALVE, SOLENOID (08) - HYDRAULICS
8
5
4
3
4
7
9
11
11
2
1
6
2
2
10
FIT
1:1
100%

Артикул

Название

Примечание

Количество

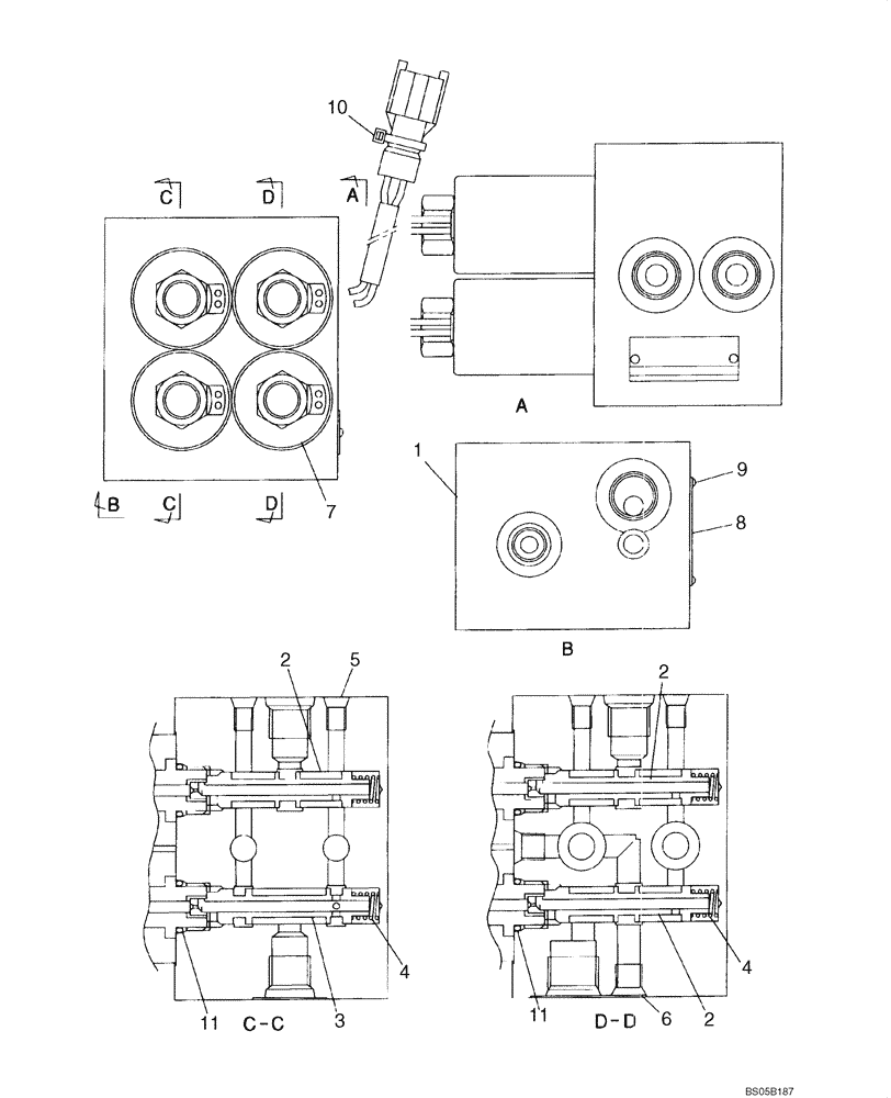
KHJ15450

SOLENOID VALVE

; Replaces KRJ6304, Incl. 1 - 11

1шт.

1

NSS

NOT SOLD SEPARAT

Body

1шт.

2

NSS

NOT SOLD SEPARAT

Spool, Valve

3шт.

3

NSS

NOT SOLD SEPARAT

Spool, Valve

1шт.

4

NSS

NOT SOLD SEPARAT

Spring, Compression

4шт.

5

NSS

NOT SOLD SEPARAT

Plug

2шт.

6

NSS

NOT SOLD SEPARAT

Plug

1шт.

7

LL00068

SOLENOID VALVE

If Used

4шт.

8

NSS

NOT SOLD SEPARAT

Plate

1шт.

9

NSS

NOT SOLD SEPARAT

Screw

2шт.

10

NSS

NOT SOLD SEPARAT

Band

1шт.

11

154475A1

O-RING

If Used

4шт.

Выбрано товаров: 12