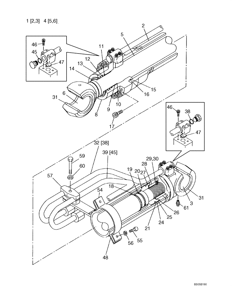
Запчасти Case CX225SR (08-75) - CYLINDER ASSY, BOOM, LEFT HAND - MODELS WITHOUT LOAD HOLD (08) - HYDRAULICS

Схема запчастей Case CX225SR - (08-75) - CYLINDER ASSY, BOOM, LEFT HAND - MODELS WITHOUT LOAD HOLD (08) - HYDRAULICS
5
56
46
55
27
14
25
60
26
8
5
2
47
31
6
45
2
28
18
21
4
39
47
38
1
38
45
12
46
30
10
3
9
13
29
19
31
16
48
24
15
20
54
61
6
32
3
11
59
17
57
FIT
1:1
100%

Артикул

Название

Примечание

Количество

KRV3484

HYDRAULIC CYLINDER

Boom, Left Hand, Models Without Load Hold, Incl. 1 - 61

1шт.

KRV3484R

REMAN-HYD CYLINDER

CX225SR CRAWLER EXCAVATOR (NORTH AMERICA), Boom, Left Hand, Models Without Load Hold

1шт.

KRV3484C

CORE-HYD CYLINDER

Return Number

1шт.

1

LR00974

JACK BODY

Incl. 2, 3

1шт.

2

NSS

NOT SOLD SEPARAT

Tube

1шт.

3

155408A1

BUSHING

1шт.

4

LB00625

PISTON ROD

Incl. 5, 6

1шт.

5

NSS

NOT SOLD SEPARAT

Rod, Piston

1шт.

6

155408A1

BUSHING

1шт.

8

LU00112

JACK BODY

1шт.

9

160050A1

BUSHING

1шт.

10

155713A1

RING, SNAP

RING SNAP

1шт.

11

LE00479

RING

1шт.

12

158847A1

RING

1шт.

13

155249A1

BACK-UP RING

1шт.

14

161877A1

BACK-UP RING

1шт.

15

154761A1

O-RING,119.4mm ID x 3.1mm Width

1шт.

16

155240A1

BACK-UP RING

1шт.

17

161059A1

BOLT,Hex Skt, M16 x 70mm, Cl 12.9

12шт.

18

LE01029

O-RING

1шт.

19

LE00707

RING

1шт.

20

160570A1

PISTON

1шт.

21

155311A1

SEALING RING

1шт.

24

160509A1

BACK-UP RING

2шт.

25

LE00708

SCRAPER RING

2шт.

26

153306A1

ORIFICE

2шт.

27

155737A1

SHIM

1шт.

28

LA00711

NUT

1шт.

29

156223A1

SET SCREW

1шт.

30

155977A1

BALL

1шт.

31

162962A1

WIPER SEAL

4шт.

32

LK00279

TUBE ASSY.

Incl. 38

1шт.

38

154503A1

O-RING

1шт.

39

LK00280

HYD TUBE

Incl. 45

1шт.

45

154503A1

O-RING

1шт.

46

108R010Z050N

BOLT

M10 x 50; 12.9

8шт.

47

154528A1

O-RING

2шт.

48

LD00034

CLAMP BRACKET

1шт.

54

161928A1

MOUNTING CLIP

1шт.

55

158131A1

BOLT,High Strength, M10 x 1.5 x 35mm, Cl 10.9

2шт.

56

156227A1

WASHER

2шт.

57

155701A1

COLLAR

2шт.

59

153910A1

BOLT,High Strength, Hex, M14 x 80mm

1шт.

60

892-16014

LOCK WASHER,M14, Hvy

1шт.

61

153630A1

LUBE NIPPLE

1шт.

LZ00442

SEAL KIT

Incl. 11 - 16, 19, 21 - 26

1шт.

Выбрано товаров: 46