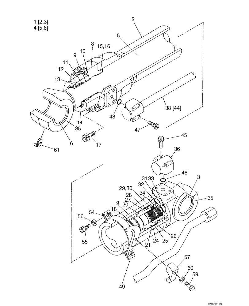
Запчасти Case CX225SR (08-77) - CYLINDER ASSY, ARM - MODELS WITHOUT LOAD HOLD (08) - HYDRAULICS

Схема запчастей Case CX225SR - (08-77) - CYLINDER ASSY, ARM - MODELS WITHOUT LOAD HOLD (08) - HYDRAULICS
32
33
11
27
4
15
57
9
59
8
60
19
3
20
28
26
2
17
47
31
44
16
10
14
21
29
61
49
6
35
24
13
48
45
56
3
1
5
30
25
38
34
54
46
12
2
36
55
6
18
35
5
FIT
1:1
100%

Артикул

Название

Примечание

Количество

KRV3236

HYDRAULIC CYLINDER

Arm, Models Without Load Hold, Incl. 1 - 61

1шт.

1

LR00532

TUBE ASSY.

Incl. 2, 3

1шт.

2

NSS

NOT SOLD SEPARAT

Tube, Cylinder

1шт.

3

155409A1

BUSHING

1шт.

4

LB00585

PISTON ROD

Incl. 5, 6

1шт.

5

NSS

NOT SOLD SEPARAT

Rod, Piston

1шт.

6

155409A1

BUSHING

1шт.

8

LU00108

CYLINDER END CAP

1шт.

9

155418A1

BUSHING

1шт.

10

155706A1

RING, SNAP

RING SNAP

1шт.

11

LE00765

SCRAPER RING

1шт.

12

LE00198

O-RING

1шт.

13

LE00695

BACK-UP RING

1шт.

14

158377A1

WIPER SEAL

1шт.

15

154777A1

O-RING

1шт.

16

159994A1

BACK-UP RING

1шт.

17

863-18080

HEX SOC SCREW,M18 x 80mm, Cl 12.9

12шт.

18

LE00696

RING

1шт.

19

LE00697

SEAL

1шт.

20

160571A1

PISTON

1шт.

21

159961A1

SEALING RING

SEALRING

1шт.

24

159995A1

BACK-UP RING

2шт.

25

LE00698

RING

2шт.

26

160016A1

RING

2шт.

27

155722A1

SHIM

1шт.

28

LA00736

SPECIAL NUT

1шт.

29

156223A1

SET SCREW

1шт.

30

155977A1

BALL

1шт.

31

164190A1

RING

1шт.

32

LE00690

SEAL

1шт.

33

160556A1

STOP

2шт.

34

160557A1

RING, SNAP

RING SNAP

1шт.

35

160483A1

BACK-UP RING

4шт.

36

155530A1

TUBE

1шт.

38

LK00270

HYD TUBE

Incl. 44

1шт.

44

154503A1

O-RING

Not Illustrated

1шт.

45

160301A1

BOLT

4шт.

46

154543A1

O-RING

1шт.

47

861-10050

HEX SOC SCREW,M10 x 50mm, Cl 12.9

4шт.

48

154528A1

O-RING

1шт.

49

LD00030

CLAMP BRACKET

1шт.

54

156391A1

MOUNTING CLIP

1шт.

55

158131A1

BOLT,High Strength, M10 x 1.5 x 35mm, Cl 10.9

2шт.

56

156227A1

WASHER

2шт.

57

155717A1

COLLAR

1шт.

59

628-12055

BOLT,Hex, M12 x 1.75 x 55mm, Cl 10.9, Full Thd

1шт.

60

892-10012

LOCK WASHER,M12

1шт.

61

153912A1

LUBE NIPPLE,90 Degree, 1/8"-27 NPT x 21.5mm lg

1шт.

LZ00446

SEAL KIT

Incl. 11 - 16, 19, 21 - 26, 32

1шт.

Выбрано товаров: 49