Запчасти Case CX225SR (09-04) - COUNTERWEIGHT - SOUNDPROOFING (09) - CHASSIS

Схема запчастей Case CX225SR - (09-04) - COUNTERWEIGHT - SOUNDPROOFING (09) - CHASSIS
10
9
10
16
11
4
6
3
2
9
9
5
7
5
19
17
3
12
9
8
19
11
12
17
13
14
1
17
18
2
15
16
18
3
2
FIT
1:1
100%

Артикул

Название

Примечание

Количество

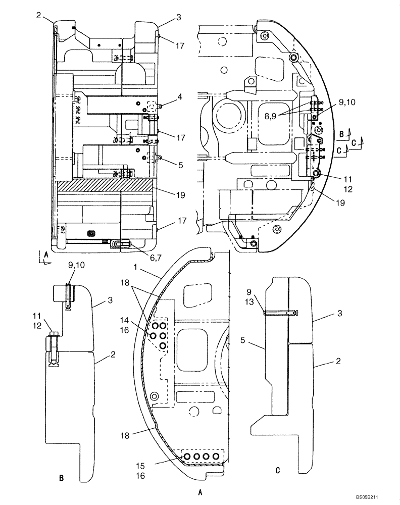
1

KRB1708Y2

COUNTERWEIGHT

Incl. 2 - 13

1шт.

2

KRB1710

COUNTERWEIGHT

1шт.

1

Counterweight Lifting Eye Not Serviced - Thread size M42 pitch 4.5mm - length 70mm

1шт.

3

KRB1709

COUNTERWEIGHT

1шт.

4

KRB1711

WEIGHT PACKAGE

1шт.

5

KRB1712

WEIGHT PACKAGE

1шт.

6

102R030W160N

BOLT

2шт.

7

163858A1

WASHER

2шт.

8

827-16120

BOLT,Hex, M16 x 2 x 120mm, Cl 10.9

2шт.

9

KHB0303

WASHER

6шт.

10

827-16140

BOLT,Hex, M16 x 2 x 140mm, Cl 10.9

2шт.

11

102R036W160N

BOLT

2шт.

12

KHB0302

WASHER

2шт.

13

102R016Y190R

BOLT

2шт.

14

KHB0301

BOLT,Spcl

5шт.

15

102R036W080N

BOLT

4шт.

16

KHB0302

WASHER

9шт.

17

157668A1

PLUG

3шт.

18

KRB1615

NOISE PROTECTION

3шт.

19

KRB1618

SEAL

1шт.

Выбрано товаров: 20