Качественные детали и логистика
Оригинальные и аналоговые запчасти с доставкой по России, Казахстану и Беларуси
©2022 PartSell ООО "Система" ИНН 2463123282 ОГРН 1212400004838
Центральный офис: г. Красноярск, Академика Киренского, д.87, пом.4
Телефон: 8 (800) 777-65-74 Email: zakaz@partsell.ru
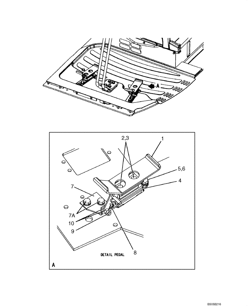
(09-13) - CONTROL, PEDAL, OPTIONAL - OPERATORS COMPARTMENT
№
Артикул
Название
Примечание
Количество
1
KHJ2229
PEDAL
1шт.
2
162571A1
BOLT,High Strength, M8 x 16mm
2шт.
3
159500A1
WASHER
4
KHJ1995
CONTROL BLOCK
See Figure 08-66
5
150548A1
BOLT,High Strength, Hex, M10 x 20mm
M10 x 20; 10.9
6
150604A1
7
KHJ2568
BRACKET
7a
166346A1
BOLT,Sems, M10
8
KHJ2231
LEVER
9
157770A1
NUT
10
157558A1
Выбрано товаров: 0