Запчасти Case CX225SR (09-20A) - HEATER - DUCT ASSEMBLY (09) - CHASSIS

Схема запчастей Case CX225SR - (09-20A) - HEATER - DUCT ASSEMBLY (09) - CHASSIS
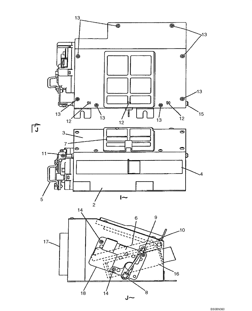
13
7
12
14
16
13
3
11
5
13
2
18
10
8
13
14
4
17
6
12
9
13
15
12
13
FIT
1:1
100%

Артикул

Название

Примечание

Количество

KHR3941

AIR DUCT

Incl. 2 - 18

1шт.

2

KHR4072

BOX

1шт.

3

KHR4073

BOX

1шт.

4

KHR4074

CAB FILTER

1шт.

5

KHR4075

MOUNTING ROD

1шт.

6

KHR4076

DAMPER

1шт.

7

KHR4077

SCREEN

1шт.

8

KHR3774

CLAMP

1шт.

9

KHR3775

HOLDER

1шт.

10

KHR4078

LEVER

1шт.

11

KHR4079

SCREW

1шт.

12

KHR4080

SCREW

3шт.

13

KHR4081

SCREW

8шт.

14

KHR4082

SCREW

3шт.

15

KHR4083

SPACER

2шт.

16

KHR4084

NOISE PROTECTION

1шт.

17

KHR4085

NOISE PROTECTION

1шт.

18

KHR4087

SMALL ELECTRIC MOTOR

1шт.

Выбрано товаров: 18