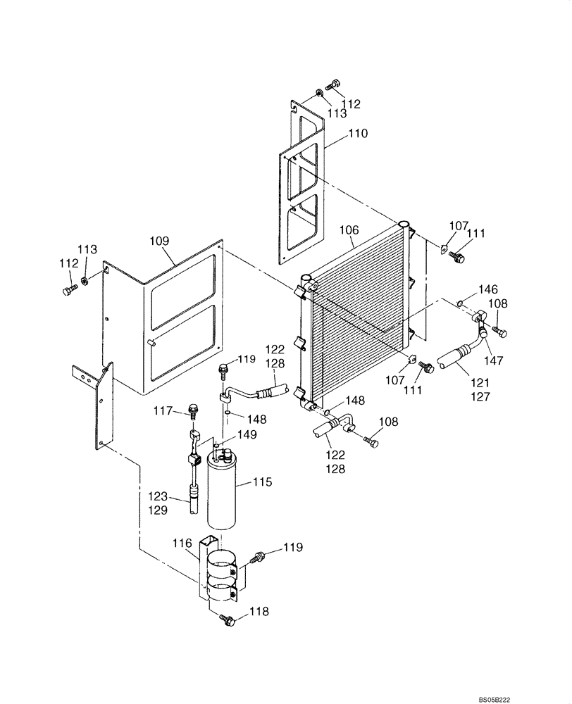
Запчасти Case CX225SR (09-22) - AIR CONDITIONING SYSTEM (09) - CHASSIS

Схема запчастей Case CX225SR - (09-22) - AIR CONDITIONING SYSTEM (09) - CHASSIS
111
119
107
147
109
115
108
116
121
123
148
117
113
113
112
118
106
110
107
128
122
129
149
119
108
111
122
146
112
128
127
148
FIT
1:1
100%

Артикул

Название

Примечание

Количество

106

KHR3538

CONDENSER

1шт.

107

KHR2593

BRACKET

4шт.

108

KHR3567

BOLT,Spcl

2шт.

109

KRR1535

BRACKET

1шт.

110

KRR1536

BRACKET

1шт.

111

162059A1

BOLT,M6 x 45mm

4шт.

112

827-8040

BOLT,Hex, M8 x 1.25 x 40mm, Cl 10.9

6шт.

113

895-11008

WASHER,9mm ID x 16mm OD x 1.6mm Thk

6шт.

115

KHR3751

RECEIVER-DRYER

(includes high/low press switch)

1шт.

116

159635A1

SUPPORT

1шт.

117

162043A1

BOLT,Spcl, M6

2шт.

118

166350A1

BOLT

2шт.

119

159906A1

BOLT,Sems, Hex, M6 x 20mm, Spcl

2шт.

121

KHR3959

HOSE

Incl 146, 147

1шт.

122

KHR3960

HOSE

Incl. 148

1шт.

123

KHR3961

HOSE

Incl. 149

1шт.

127

158070A1

PLASTIC-RUBBER TUBE

2800 mm (110-1/4 in)

1шт.

128

KRH1517

PLASTIC-RUBBER TUBE

200 mm (8-1/4 in)

1шт.

129

157769A1

PLASTIC-RUBBER TUBE

1шт.

146

169053A1

O-RING

2шт.

147

KHR3053

CAP

1шт.

148

169054A1

O-RING

2шт.

149

169054A1

O-RING

2шт.

Выбрано товаров: 0