Запчасти Case CX225SR (09-24) - CAB (09) - CHASSIS

Схема запчастей Case CX225SR - (09-24) - CAB (09) - CHASSIS
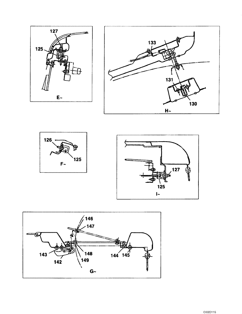
125
143
126
144
131
127
148
147
146
133
127
130
145
142
125
149
125
FIT
1:1
100%

Артикул

Название

Примечание

Количество

KHN3261

CAB

Includes Figures 09-23 - 09-27

1шт.

125

KAN2687

STRIKER PLATE

3шт.

126

KAN2771

BOLT,Spcl

2шт.

127

KAN2633

BOLT,Spcl

4шт.

130

KAN2772

LOCK

1шт.

131

KAN2641

SCREW,Spcl

4шт.

133

KAN2774

CLIP

1шт.

142

KHN3083

HANDLE

1шт.

143

KHN3084

SCREW,Spcl

2шт.

144

KHN3085

HINGE

2шт.

145

KAN1514

SCREW

6шт.

146

KAN2717

SPECIAL NUT

3шт.

147

KAN2692

PACKING

3шт.

148

KAN2623

WASHER

3шт.

149

KAN1531

SCREW

3шт.

Выбрано товаров: 15