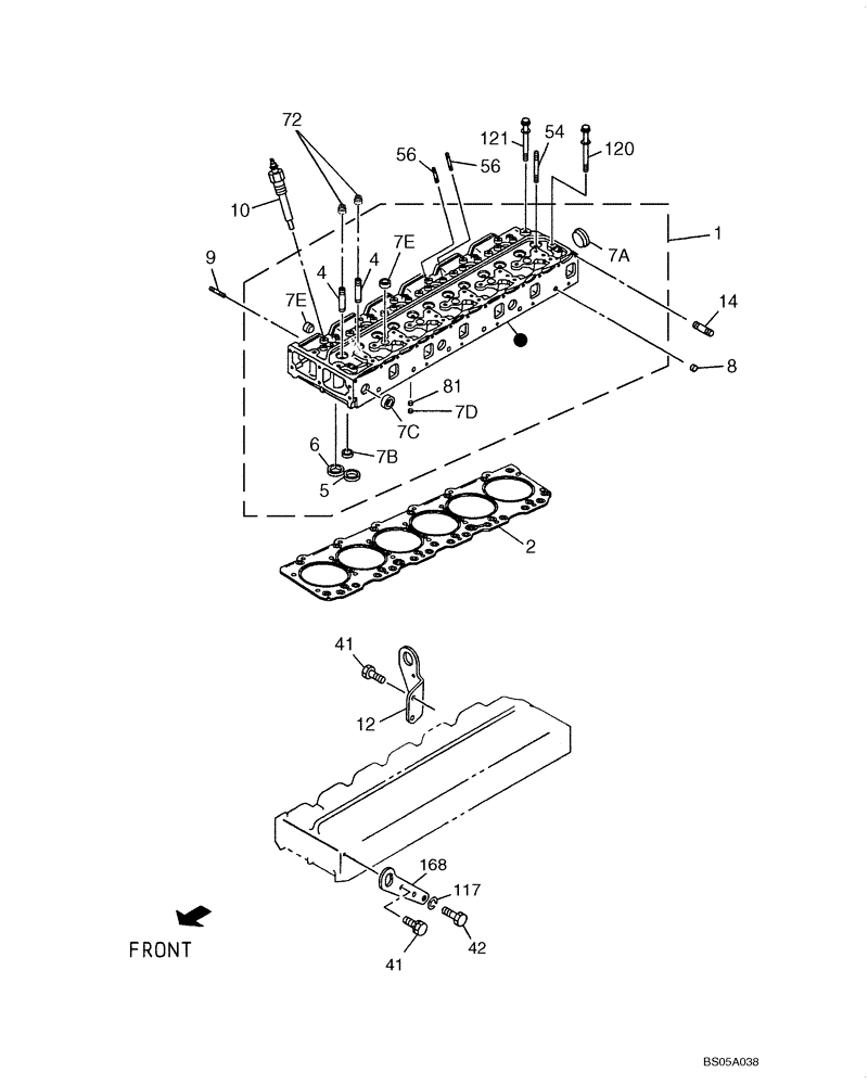
Запчасти Case CX225SR (02-19) - CYLINDER HEAD (02) - ENGINE

Схема запчастей Case CX225SR - (02-19) - CYLINDER HEAD (02) - ENGINE
56
42
72
7b
41
1
2
54
120
10
7e
7e
168
14
5
81
7a
117
121
8
4
7d
56
9
7c
12
41
4
6
FIT
1:1
100%

Артикул

Название

Примечание

Количество

1

87405682

HEAD ASSY.

Incl. 4 - 7E, 81

1шт.

2

289113A1

GASKET

1шт.

4

87405691

VALVE GUIDE

12шт.

5

289716A1

SEAT

Intake

6шт.

6

289449A1

SEAT

Exhaust

6шт.

7b

289074A1

CUP

dia 45

1шт.

7c

289852A1

CUP

dia 20

3шт.

7d

362152A1

CUP

dia 32, Replaces 289437A1

3шт.

7e

368335A1

CUP

6шт.

7e

289076A1

CUP

dia 25

11шт.

8

289853A1

CUP

dia 12,5

5шт.

9

87597208

STUD

Replaces 289762A1

6шт.

10

288874A1

GLOW PLUG

See Figure 04-13

6шт.

12

289866A1

FASTENER

1шт.

14

289816A1

STUD

M8 x 99

12шт.

41

288999A1

BOLT

3шт.

42

288979A1

BOLT

1шт.

54

289829A1

STUD

M8 x 96

4шт.

56

289060A1

STUD

M8 x 58

12шт.

72

289164A1

SEAL

12шт.

81

289818A1

PLUG

6шт.

117

86988905

WASHER

ID 14

1шт.

120

289056A1

BOLT

M12 x 113

20шт.

121

289055A1

BOLT

M12 x 100

6шт.

168

289454A1

FASTENER

1шт.

Выбрано товаров: 25