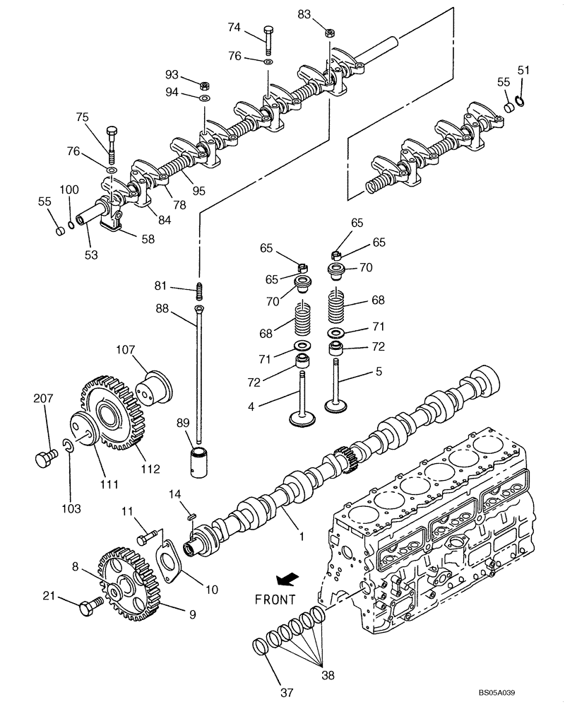
Запчасти Case CX225SR (02-20) - CAMSHAFT - VALVE MECHANISM (02) - ENGINE

Схема запчастей Case CX225SR - (02-20) - CAMSHAFT - VALVE MECHANISM (02) - ENGINE
14
5
95
68
9
76
71
53
83
207
65
89
100
112
65
94
107
70
65
70
21
72
111
74
51
55
72
55
65
8
68
78
37
58
38
75
84
1
4
76
88
10
93
81
11
71
103
FIT
1:1
100%

Артикул

Название

Примечание

Количество

1

289155A1

CAMSHAFT

1шт.

4

288743A1

VALVE,ENGINE,INLET,S

VALVE INTAKE

6шт.

5

419707A1

VALVE, ENG EXHAUST,

VALVE EXHAUST

6шт.

8

289838A1

WASHER

1шт.

9

288741A1

PINION

1шт.

10

289864A1

LARGE PLATE

PLATE, LARGE

1шт.

11

289016A1

BOLT

M8 x 25

2шт.

14

289767A1

KEY

1шт.

21

289993A1

BOLT

M14 x 28

1шт.

37

289862A1

RING

1шт.

38

86988789

RING

5шт.

51

289799A1

RING

1шт.

53

446998A1

ROCKER

1шт.

55

289874A1

PLUG

2шт.

58

288785A1

SUPPORT

1шт.

65

289468A1

COLLAR

24шт.

68

288745A1

SPRING

12шт.

70

289606A1

SPRING SEAT

12шт.

71

355175A1

SPRING SEAT

12шт.

72

288808A1

SEAL

12шт.

74

289048A1

BOLT

M8 x 65

8шт.

75

289815A1

BOLT

M8 x 65

1шт.

76

289835A1

WASHER

9шт.

78

288746A1

ROCKER

12шт.

81

289873A1

SCREW

12шт.

83

289780A1

NUT

M8

12шт.

84

289875A1

BRACKET

6шт.

88

289165A1

ROD

12шт.

89

288784A1

TAPPET

12шт.

93

289067A1

NUT

4шт.

94

289835A1

WASHER

4шт.

95

289073A1

SPRING

5шт.

100

289420A1

PACKING

1шт.

103

289783A1

LOCK WASHER

2шт.

107

289871A1

SHAFT

1шт.

111

288783A1

COLLAR

1шт.

112

288791A1

PINION

1шт.

207

288977A1

BOLT

M10 x 55

2шт.

Выбрано товаров: 38