Запчасти Case CX225SR (02-22) - CYLINDER BLOCK (02) - ENGINE

Схема запчастей Case CX225SR - (02-22) - CYLINDER BLOCK (02) - ENGINE
131
218
70
64
113
162
126
83
1
335
73
55
37
63
135
68
56
132
74
72
8
37
4
85
130
30
340
77
82
2
70
80
179
75
12
220
38
34
236
179
75
76
179
136
35
335
137
336
267
269
126
FIT
1:1
100%

Артикул

Название

Примечание

Количество

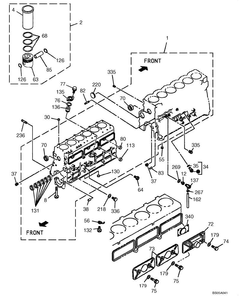
1

288719A1

CYLINDER BLOCK

Incl. 4, 8 70, 80, 113, 130, 131

1шт.

2

446996A1

KIT, LINER, PISTON R

Incl. 4, 63, 68, 85, 126

6шт.

4

288721A1

SLEEVE CYLINDER

1; CX

6шт.

8

289047A1

BOLT

14шт.

12

289100A1

JOINT

1шт.

30

289613A1

PIN

dia 16

2шт.

34

438081A1

VALVE

Incl. 35

1шт.

35

289419A1

PACKING

1шт.

37

289079A1

PLUG

2шт.

38

289110A1

PIN

dia 10

1шт.

55

289078A1

PLUG

1шт.

56

289192A1

JET

6шт.

63

87677298

PISTON

Replaces 446997A1

1шт.

64

289098A1

CONNECTOR, ELEC

CONNECTOR

1шт.

68

288738A1

PISTON RING SET

1шт.

70

289077A1

CUP

dia 60

2шт.

72

449300A1

COVER

1шт.

73

288820A1

COVER

2шт.

74

289054A1

BOLT

M8 x 84

2шт.

75

289651A1

BOLT

M8 x 56

4шт.

76

289086A1

PACKING

1шт.

77

289033A1

BOLT

M8 x 22

2шт.

80

362152A1

CUP

dia 32

3шт.

82

289406A1

STUD

M14 x 65

1шт.

83

289771A1

PIN

dia 10

2шт.

85

289146A1

PIN

1шт.

113

289436A1

CUP

dia 28

2шт.

126

289602A1

RING

2шт.

130

289439A1

PIN

1шт.

131

REF

INSTRUCTION

Ring, Set; See Figure 02-20

1шт.

132

289174A1

VALVE, CHECK

6шт.

135

289118A1

COVER

1шт.

136

288859A1

RING

1шт.

137

289105A1

COCK, DRAIN

1шт.

162

288856A1

HOSE

Order 1

1шт.

179

289812A1

PACKING

6шт.

218

289814A1

GASKET

1шт.

220

289841A1

PLUG

dia 67

1шт.

236

289061A1

STUD

M10 x 45

1шт.

267

289687A1

CLIP

1шт.

269

289095A1

PACKING

1шт.

335

289417A1

PLUG

11шт.

336

289998A1

PLUG

M14 x 9

1шт.

340

288780A1

GUIDE

1шт.

Выбрано товаров: 44