Запчасти Case CX225SR (02-23) - CYLINDER BLOCK - BREATHER (02) - ENGINE

Схема запчастей Case CX225SR - (02-23) - CYLINDER BLOCK - BREATHER (02) - ENGINE
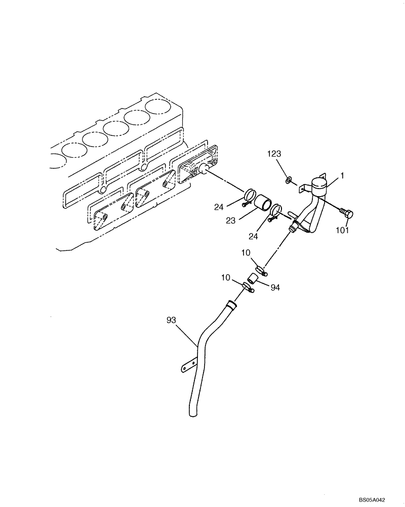
10
24
123
23
101
1
93
94
24
10
FIT
1:1
100%

Артикул

Название

Примечание

Количество

1

288734A1

BREATHER

1шт.

10

288858A1

COLLAR CLAMP

dia 45; Replaces 288857A1

1шт.

10

288858A1

COLLAR CLAMP

dia 48

1шт.

23

288835A1

LARGE HOSE

HOSE,LARGE

1шт.

24

288858A1

COLLAR CLAMP

dia 45; Replaces 288857A1

2шт.

93

288735A1

RIGID TUBE

1шт.

94

288781A1

HOSE

1шт.

101

288709A1

NUT

M8

2шт.

123

288851A1

WASHER

W8

2шт.

Выбрано товаров: 9