Запчасти Case CX225SR (03-01) - FUEL TANK (03) - FUEL SYSTEM

Схема запчастей Case CX225SR - (03-01) - FUEL TANK (03) - FUEL SYSTEM
3
11
10
5
2
16
16
12
13
1
8
14
7
6
5
9
3a
15
2
4
15
FIT
1:1
100%

Артикул

Название

Примечание

Количество

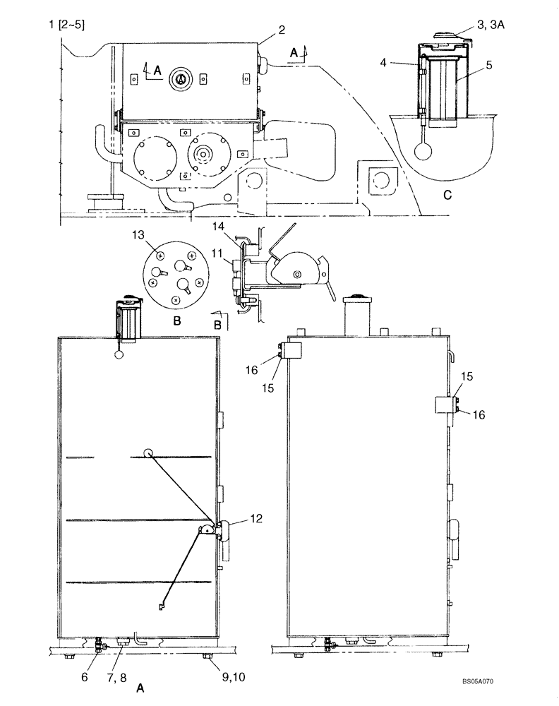
1

KRH1497

FUEL TANK

Incl. 2 - 5

1шт.

2

NSS

NOT SOLD SEPARAT

Tank, Fuel

1шт.

3

150492A1

LOCKABLE FUEL CAP

Incl. 3A

1шт.

3a

163804A1

GASKET

1шт.

4

KHH0330

GAUGE

1шт.

5

150146A1

FILTER

1шт.

6

158923A1

DRAIN VALVE

1шт.

7

152924A1

PLUG

1шт.

8

154503A1

O-RING

1шт.

9

167068A1

BOLT

4шт.

10

150817A1

WASHER,21mm ID x 40mm OD x 4.5mm Thk

4шт.

11

KHR3066

SENSOR

No Longer Used

1шт.

11

KHR4147

SENSOR

Replaces KHR4011 and KHR3066

1шт.

12

159698A1

COVER

1шт.

13

151688A1

SCREW,Phil Pan Hd, M5 x 12mm, W/ Wshr

5шт.

14

152591A1

GASKET,2mm Thk

1шт.

15

KRH1499

PLATE

2шт.

16

166347A1

BOLT,Sems, M10 x 30mm

8шт.

Выбрано товаров: 18