Качественные детали и логистика
Оригинальные и аналоговые запчасти с доставкой по России, Казахстану и Беларуси
©2022 PartSell ООО "Система" ИНН 2463123282 ОГРН 1212400004838
Центральный офис: г. Красноярск, Академика Киренского, д.87, пом.4
Телефон: 8 (800) 777-65-74 Email: zakaz@partsell.ru
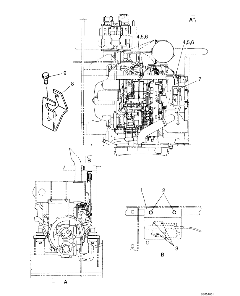
(03-04) - ENGINE SHUTOFF - SUPPORT
№
Артикул
Название
Примечание
Количество
1
KRH1542
BREATHER
1шт.
2
166052A1
BOLT
2шт.
3
159602A1
BOLT,Sems, Hex, M6 x 16mm
3шт.
4
150860A1
COLLAR
5
840-168
SCREW,Pan, M6 x 1 x 8mm, Cl 4.8
6
150067A1
MOUNTING CLIP
7
288642A1
CIRCUIT BREAKER
See Figure 04-13
8
289327A1
BRACKET
9
289003A1
M10 x 20; 10.9
Выбрано товаров: 0