Запчасти Case CX225SR (08-02A) - PUMP ASSY, HYDRAULIC - COUPLING (08) - HYDRAULICS

Схема запчастей Case CX225SR - (08-02A) - PUMP ASSY, HYDRAULIC - COUPLING (08) - HYDRAULICS
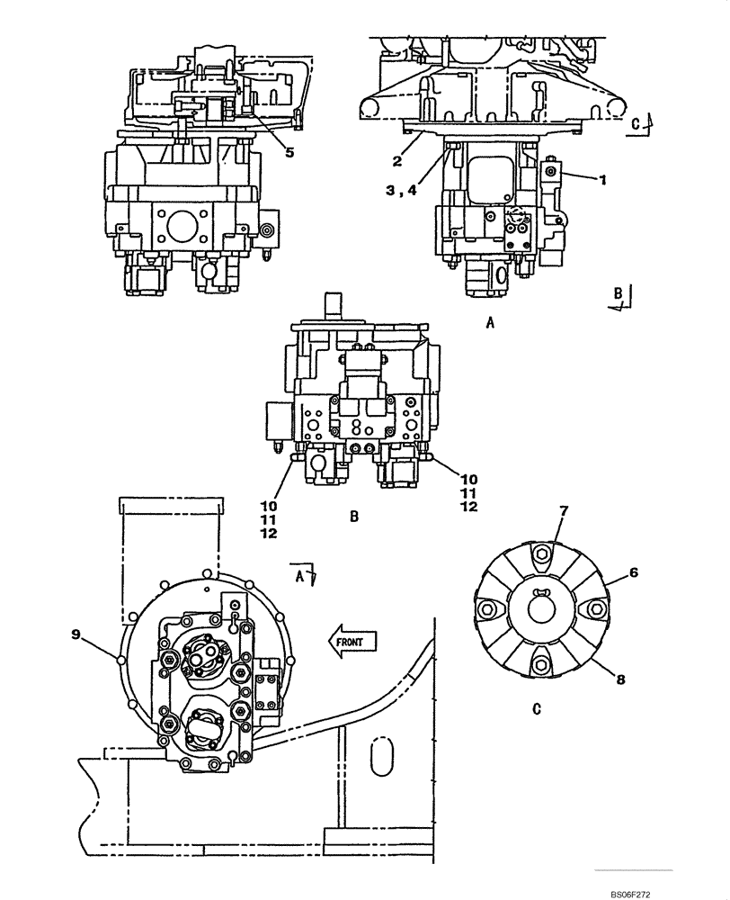
5
1
3
6
10
12
9
2
10
11
11
12
8
7
4
FIT
1:1
100%

Артикул

Название

Примечание

Количество

1

KRJ7386

HYDRAULIC PUMP

See Figure 08-03A, 08-05A

1шт.

87341983

REMAN-HYD PUMP

Remanufactured, HYDRAULIC PUMP, For N.A. Only

1шт.

87341984

CORE-HYDRAULIC PUMP

Return Number, For N.A. Only

1шт.

2

KRJ6616

FLANGE

1шт.

3

627-20050

BOLT,Hex, M20 x 2.5 x 50mm, Cl 10.9, Full Thd

4шт.

4

183-120VR

SPRING WASHER

4шт.

5

KRJ6622

COUPLING

Incl. 6 - 8

1шт.

6

KRJ6637

PLATE

1шт.

7

KRJ6638

INSERT

4шт.

8

KRJ6639

INSERT

1шт.

9

166347A1

BOLT,Sems, M10 x 30mm

8шт.

10

KHJ2620

BUSHING

Incl. 11

2шт.

11

154467A1

O-RING,10.8mm ID x 2.4mm Width

1шт.

12

1541849C1

COUPLING

Incl. 13, 14

2шт.

13

237-6006

O-RING,0.078" Thk x 0.468" ID, -906, Cl 6, 90 Duro

Not Illustrated

1шт.

14

H434163

DUST CAP

Not Illustrated

1шт.

15

158842A1

PLUG

Not Illustrated

1шт.

16

KHJ11720

ELBOW

Not Illustrated

1шт.

Выбрано товаров: 18