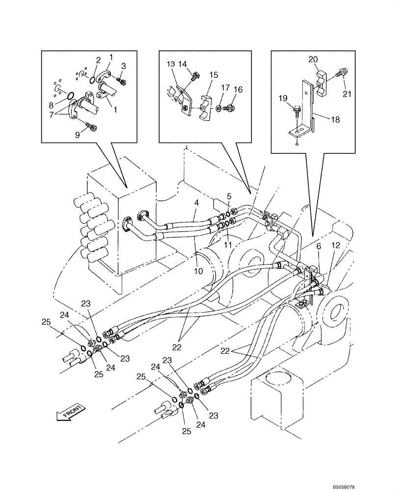
Запчасти Case CX225SR (08-11) - HYDRAULICS - BOOM (08) - HYDRAULICS

Схема запчастей Case CX225SR - (08-11) - HYDRAULICS - BOOM (08) - HYDRAULICS
23
12
23
2
1
20
25
24
6
3
8
21
18
24
14
22
4
23
25
19
25
11
24
13
5
10
16
24
9
1
25
23
15
22
7
17
FIT
1:1
100%

Артикул

Название

Примечание

Количество

1

153458A1

FLANGE

2шт.

2

155210A1

O-RING

1шт.

3

862-10030

HEX SOC SCREW,M10 x 30mm, Cl 12.9

4шт.

4

KRJ6961

HYDRAULIC HOSE

1шт.

5

KHJ1360

O-RING,0.07" Thk x 0.739" ID

1шт.

6

KRJ6962

HYD TUBE

1шт.

7

153459A1

FLANGE

2шт.

8

155211A1

O-RING

1шт.

9

862-10030

HEX SOC SCREW,M10 x 30mm, Cl 12.9

4шт.

10

KRJ6960

HYDRAULIC HOSE

1шт.

11

KHJ1361

O-RING,0.07" Thk x 0.926" ID

1шт.

12

KRJ6963

HYD TUBE

1шт.

13

KRJ6925

BREATHER

1шт.

14

166352A1

BOLT

1шт.

15

153186A1

COLLAR

1шт.

16

827-12080

BOLT,Hex, M12 x 1.75 x 80mm, Cl 10.9

1шт.

17

150811A1

WASHER

M12

1шт.

18

KRJ6924

BREATHER

1шт.

19

166352A1

BOLT

2шт.

20

152085A1

COLLAR

1шт.

21

167183A1

BOLT,Sems, M12 x 60mm, Cl 10.9

1шт.

22

KRJ6964

HYDRAULIC HOSE

4шт.

23

KHJ1360

O-RING,0.07" Thk x 0.739" ID

4шт.

24

KHJ1348

ADAPTER

Incl. 25

4шт.

25

154503A1

O-RING

1шт.

Выбрано товаров: 25