Запчасти Case CX225SR (08-18) - HYDRAULICS - ARM CYLINDER, MODELS WITHOUT LOAD HOLD (08) - HYDRAULICS

Схема запчастей Case CX225SR - (08-18) - HYDRAULICS - ARM CYLINDER, MODELS WITHOUT LOAD HOLD (08) - HYDRAULICS
12
11
17
14
18
10
7
4
1
2
13
13
6
5
8
15
12
16
9
11
14
10
3
FIT
1:1
100%

Артикул

Название

Примечание

Количество

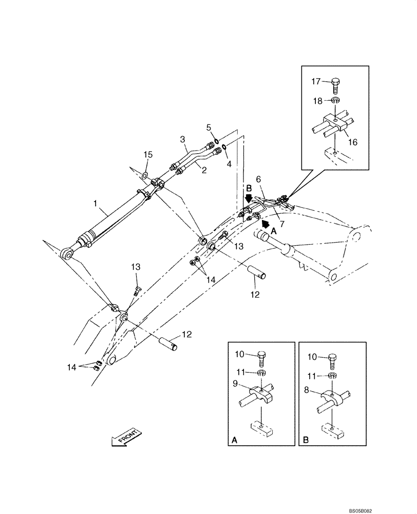
1

KRV26130

HYDRAULIC CYLINDER

Arm, Models Without Load Hold, See Figure 08-56

1шт.

1

KRV26130R

REMAN-HYD CYLINDER

CX225SR CRAWLER EXCAVATOR TIER 3, Arm, Models Without Load Hold (3/08-)

1шт.

1

KRV26130C

CORE-HYD CYLINDER

Return Number

1шт.

2

KRV2405

HYDRAULIC HOSE,19mm ID x 1000mm L

1шт.

3

KRV2406

HYDRAULIC HOSE,25.4mm ID x 1000mm L

1шт.

4

KHJ1360

O-RING,0.07" Thk x 0.739" ID

1шт.

5

KHJ1361

O-RING,0.07" Thk x 0.926" ID

1шт.

6

KRV3318

HYD TUBE

1шт.

7

KRV3319

HYD TUBE

1шт.

8

151489A1

CLAMP

1шт.

9

159742A1

COLLAR

1шт.

10

827-16070

BOLT,Hex, M16 x 2 x 70mm, Cl 10.9

2шт.

11

150814A1

WASHER,17mm ID x 32mm OD x 4.5mm Thk

2шт.

12

159738A1

PIN,80mm OD x 273mm L

2шт.

13

514-1222

BOLT,Hex, M20 x 1.5 x 170mm, Cl 10.9

2шт.

14

829-11420

NUT,M20 x 1.5, Cl 10

4шт.

15

159741A1

SHIM

1шт.

16

153186A1

COLLAR

1шт.

17

827-12070

BOLT,Hex, M12 x 1.75 x 70mm, Cl 10.9

1шт.

18

150811A1

WASHER

1шт.

Выбрано товаров: 20