Запчасти Case CX225SR (08-24) - PILOT CONTROL LINES, ATTACHMENT - MODELS WITHOUT LOAD HOLD (08) - HYDRAULICS

Схема запчастей Case CX225SR - (08-24) - PILOT CONTROL LINES, ATTACHMENT - MODELS WITHOUT LOAD HOLD (08) - HYDRAULICS
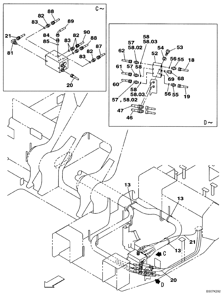
58.03
55
87
83
62
88
13
57
56
55
13
21
81
83
20
53
68
47
88
54
58.03
58.02
56
57
18
58
84
82
82
85
19
69
57
61
58
58
52
20
21
13
58.02
89
60
90
46
83
82
FIT
1:1
100%

Артикул

Название

Примечание

Количество

13

150498A1

MOUNTING CLIP

1шт.

18

KHJ2387

HOSE

1550 mm (61 in)

1шт.

19

KHJ2387

HOSE

1550 mm (61 in)

1шт.

20

KHJ2387

HOSE

1550 mm (61 in)

1шт.

21

KHJ2387

HOSE

1550 mm (61 in)

1шт.

46

KHJ2348

HOSE

3200 mm (126 in)

1шт.

47

KHJ2390

HOSE

3900 mm (153-5/8 in)

1шт.

52

KHJ17110

VALVE

1шт.

53

827-8045

BOLT,Hex, M8 x 1.25 x 45mm, Cl 10.9

2шт.

54

153081A1

WASHER

2шт.

55

152747A1

ADAPTER

Incl. 56

2шт.

56

154467A1

O-RING,10.8mm ID x 2.4mm Width

1шт.

57

152127A1

HYD CONNECTOR,1/4" NPT O-Ring x 1/4" NPT

Incl. 58

3шт.

58

154467A1

O-RING,10.8mm ID x 2.4mm Width

1шт.

58.02

152747A1

ADAPTER

Incl. 58.03

2шт.

58.03

154467A1

O-RING,10.8mm ID x 2.4mm Width

2шт.

60

KHJ2102

HOSE

1шт.

61

KHJ2081

HOSE

3200 mm (126 in)

1шт.

62

KHJ2102

HOSE

1шт.

68

153412A1

SOCKET

Incl. 69

1шт.

69

154467A1

O-RING,10.8mm ID x 2.4mm Width

1шт.

81

153526A1

ELBOW

1шт.

82

152128A1

HYD CONNECTOR,3/8" NPT O-Ring x 3/8" NPT

Incl. 83

4шт.

83

154475A1

O-RING

1шт.

84

KHJ2136

ADAPTER

Incl. 85

1шт.

85

154467A1

O-RING,10.8mm ID x 2.4mm Width

1шт.

87

KHJ2476

HOSE

3550 mm (139-7/8 in)

1шт.

88

KHJ2475

HOSE

2850 mm (112-1/4 in)

2шт.

89

KHJ2248

HOSE

3000 mm (118-1/8 in)

1шт.

90

KHJ2178

HOSE

3700 mm (145-3/4 in)

1шт.

Выбрано товаров: 30