Запчасти Case CX225SR (08-63) - VALVE ASSY - PILOT CONTROL LINES (08) - HYDRAULICS

Схема запчастей Case CX225SR - (08-63) - VALVE ASSY - PILOT CONTROL LINES (08) - HYDRAULICS
13
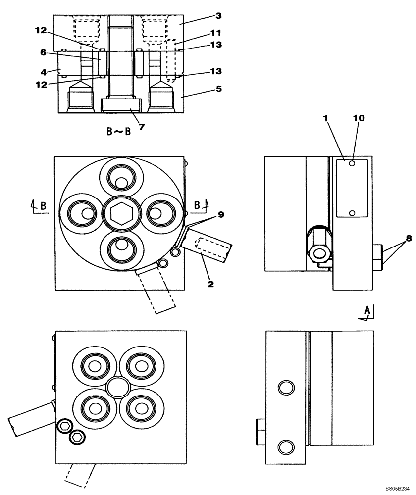
3
12
9
4
11
8
12
10
6
5
2
13
1
FIT
1:1
100%

Артикул

Название

Примечание

Количество

KHJ2556

VALVE

Incl. 1 - 13

1шт.

1

NSS

NOT SOLD SEPARAT

Name Plate

1шт.

2

LF00035

CONTROL LEVER

1шт.

3

LR01073

PLATE

1шт.

4

LR01074

PLATE

1шт.

5

LR01075

PLATE

1шт.

6

LH00393

COLLAR

1шт.

7

108R016Y050Z

BOLT

BOLT, Replaces LA00911

1шт.

8

108R006Y040R

SCREW

2шт.

9

895-11008

WASHER,9mm ID x 16mm OD x 1.6mm Thk

2шт.

10

NSS

NOT SOLD SEPARAT

Rivet

2шт.

11

LA00912

HITCH PIN

1шт.

12

LE00852

O-RING

2шт.

13

LE01128

O-RING

2шт.

Выбрано товаров: 14