Запчасти Case CX225SR (08-70) - VALVE ASSY, RELIEF - MODELS WITH LOAD HOLD (08) - HYDRAULICS

Схема запчастей Case CX225SR - (08-70) - VALVE ASSY, RELIEF - MODELS WITH LOAD HOLD (08) - HYDRAULICS
15
8
9
18
16
23
15
15
4
17
19
28
12
24
5
7
15
22
21
13
26
15
15
15
15
20
2
10
25
6
15
27
3
13
1
14
11
5
FIT
1:1
100%

Артикул

Название

Примечание

Количество

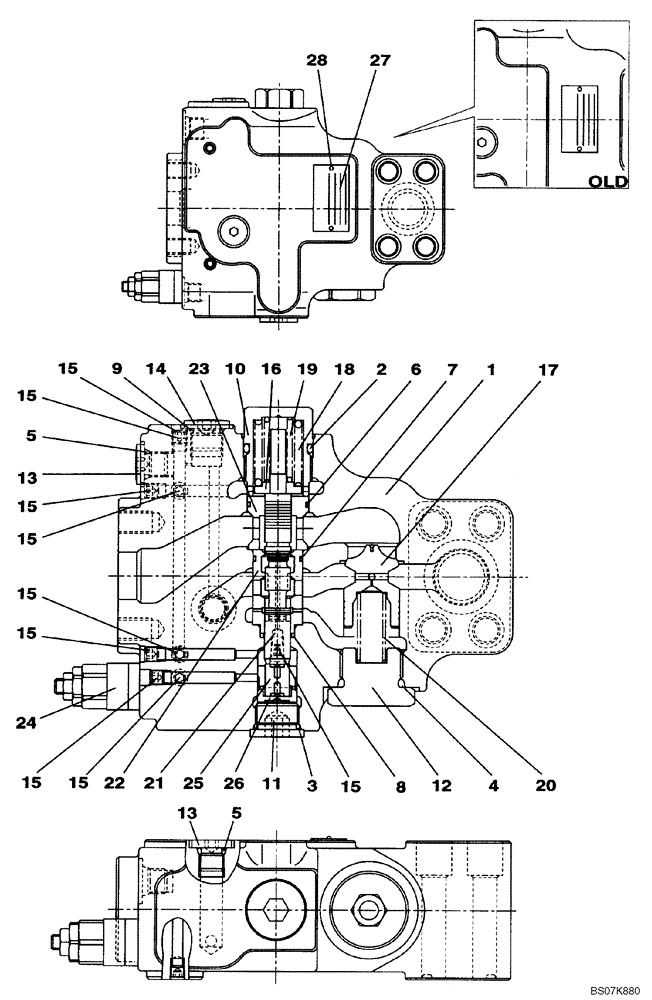
0

KRV11120

VALVE SECTION

iNCL. 1 - 28

1шт.

1

NSS

NOT SOLD SEPARAT

Case

1шт.

2

154535A1

O-RING

1шт.

3

154499A1

O-RING

1шт.

4

154523A1

O-RING

1шт.

5

154467A1

O-RING,10.8mm ID x 2.4mm Width

2шт.

6

166804A1

O-RING

1шт.

7

LBQ6021

O-RING

1шт.

8

LE013260

SEAL

1шт.

9

154475A1

O-RING

1шт.

10

LK005500

PLUG

1шт.

11

LK005360

PLUG

Replaces LK005510

1шт.

12

LK005530

PLUG

1шт.

13

LK00015

PLUG

2шт.

14

LK00008

PLUG

1шт.

15

NSS

NOT SOLD SEPARAT

Plug

9шт.

16

LR014580

SPRING SEAT

1шт.

17

LJ014310

VALVE POPPET

1шт.

18

LG005860

COMPRESSION SPRING

1шт.

19

LG005870

COMPRESSION SPRING

1шт.

20

LG005890

COMPRESSION SPRING

1шт.

21

NSS

NOT SOLD SEPARAT

Spool

1шт.

22

NSS

NOT SOLD SEPARAT

Bush

1шт.

23

NSS

NOT SOLD SEPARAT

Bush

1шт.

24

LJ014280

VALVE PRESSURE RELIE

1шт.

25

LJ014290

PISTON

1шт.

26

LJ014300

PISTON

1шт.

27

NSS

NOT SOLD SEPARAT

Name Plate

1шт.

28

NSS

NOT SOLD SEPARAT

Rivet

2шт.

Выбрано товаров: 29