Запчасти Case CX225SR (02-04) - EXHAUST SYSTEM - MUFFLER (02) - ENGINE

Схема запчастей Case CX225SR - (02-04) - EXHAUST SYSTEM - MUFFLER (02) - ENGINE
12
15
1
14
2
8
10
13
7
11
6
4
5
9
3
3
10
FIT
1:1
100%

Артикул

Название

Примечание

Количество

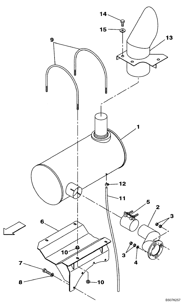
1

KRH12240

MUFFLER

MUFFLER

1шт.

2

KRH12250

EXHAUST SYSTEM PIPE

PIPE EXHAUST

1шт.

3

829-1408

NUT,Hex, M8 x 1.25, Cl 10.9

8шт.

4

153081A1

WASHER

3шт.

5

KSH0951

COLLAR ASSY.

1шт.

6

KRH12260

SUPPORT

BRACKET, MUFFLER

1шт.

7

627-10035

BOLT,Hex, M10 x 1.5 x 35mm, Cl 10.9, Full Thd

4шт.

8

150409A1

WASHER

4шт.

9

KHH11400

RETAINER COLLAR

2шт.

10

KHH11440

FLANGE NUT

8шт.

11

150657A1

TUBE

1шт.

12

165952A1

MOUNTING CLIP

1шт.

13

KRN17190

EXHAUST MANIFOLD

PIPE, TAIL

1шт.

14

627-10025

BOLT,Hex, M10 x 1.5 x 25mm, Cl 10.9, Full Thd

3шт.

15

151977A1

WASHER

3шт.

Выбрано товаров: 15