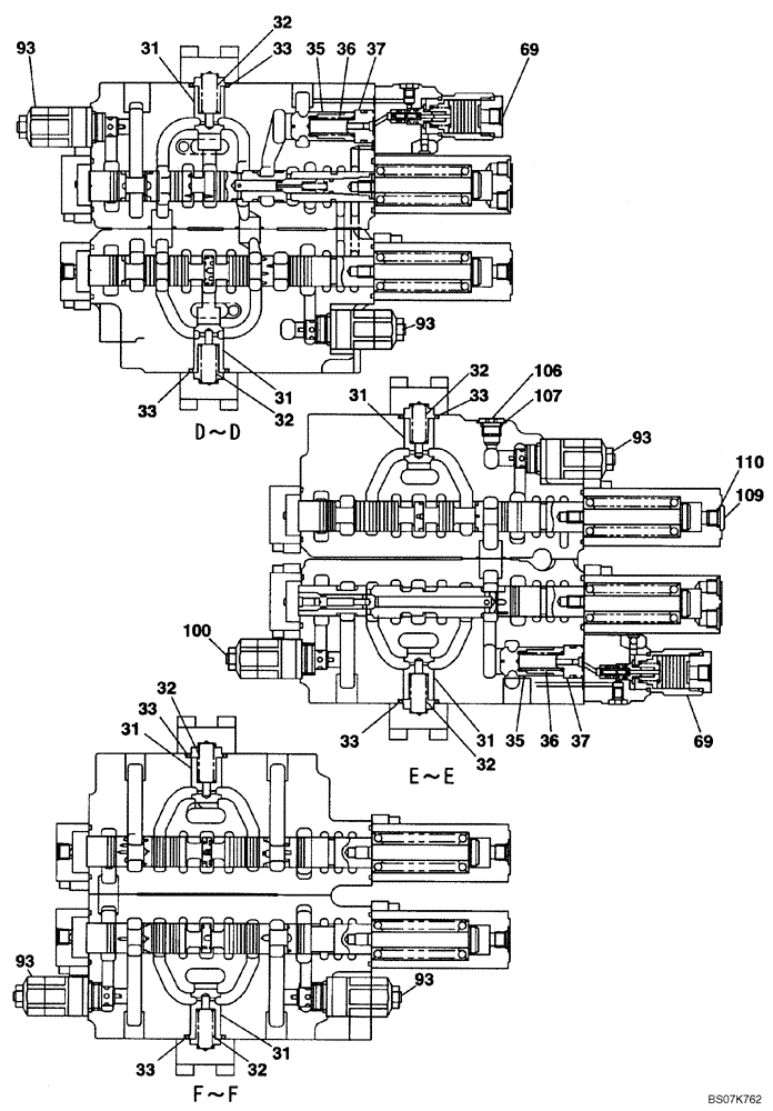
Запчасти Case CX225SR (08-80) - VALVE ASSY, CONTROL (08) - HYDRAULICS

Схема запчастей Case CX225SR - (08-80) - VALVE ASSY, CONTROL (08) - HYDRAULICS
109
32
37
31
37
33
33
93
35
32
36
31
36
31
33
93
110
31
33
69
32
93
32
106
35
107
93
31
33
32
69
31
32
93
33
100
FIT
1:1
100%

Артикул

Название

Примечание

Количество

KRJ12220

CONTROL VALVE

Includes All Parts on Figures 08-77 - 08-82

1шт.

31

LJ00727

VALVE POPPET

8шт.

32

LG00341

SPRING

9шт.

33

154539A1

O-RING

9шт.

35

163390A1

VALVE POPPET

2шт.

36

163394A1

SPRING

2шт.

37

163374A1

SPACER

2шт.

69

LJ00732

PILOT VALVE

2шт.

93

LJ00734

HYDRAULIC VALVE

5шт.

100

NSS

NOT SOLD SEPARAT

VALVE, RELIEF

1шт.

106

163369A1

PLUG

8шт.

107

154475A1

O-RING

41шт.

109

163972A1

PLUG

4шт.

110

154467A1

O-RING,10.8mm ID x 2.4mm Width

1шт.

Выбрано товаров: 14