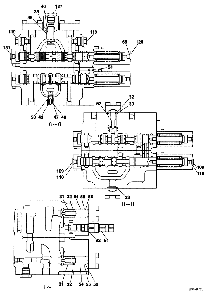
Запчасти Case CX225SR (08-81) - VALVE ASSY, CONTROL (08) - HYDRAULICS

Схема запчастей Case CX225SR - (08-81) - VALVE ASSY, CONTROL (08) - HYDRAULICS
31
54
91
31
47
55
131
45
126
52
49
33
66
110
119
32
56
127
46
50
48
55
119
92
110
54
109
33
56
32
33
32
109
51
FIT
1:1
100%

Артикул

Название

Примечание

Количество

KRJ6911

CONTROL VALVE

Includes All Parts on Figures 08-57 - 08-62

1шт.

31

LJ00727

VALVE POPPET

8шт.

32

LG00341

SPRING

9шт.

33

154539A1

O-RING

9шт.

45

LJ00728

VALVE POPPET

1шт.

46

LG00342

SPRING

1шт.

47

155464A1

PLUG

1шт.

48

155222A1

O-RING

1шт.

49

156026A1

SPRING

1шт.

50

LJ00972

VALVE POPPET

1шт.

52

LJ00730

VALVE POPPET

1шт.

54

LH00251

SPACER

2шт.

55

154507A1

O-RING

2шт.

56

153987A1

BACK-UP RING

2шт.

66

154467A1

O-RING,10.8mm ID x 2.4mm Width

1шт.

91

LJ00805

VALVE

1шт.

92

155223A1

O-RING

1шт.

109

163972A1

PLUG

4шт.

110

154467A1

O-RING,10.8mm ID x 2.4mm Width

1шт.

119

165839A1

PLUG

2шт.

131

151022A1

PLUG

1шт.

Выбрано товаров: 21