Запчасти Case CX225SR (08-89) - HYDRAULICS - JOINT, SWIVEL CENTER - MODELS WITH DOZER BLADE (08) - HYDRAULICS

Схема запчастей Case CX225SR - (08-89) - HYDRAULICS - JOINT, SWIVEL CENTER - MODELS WITH DOZER BLADE (08) - HYDRAULICS
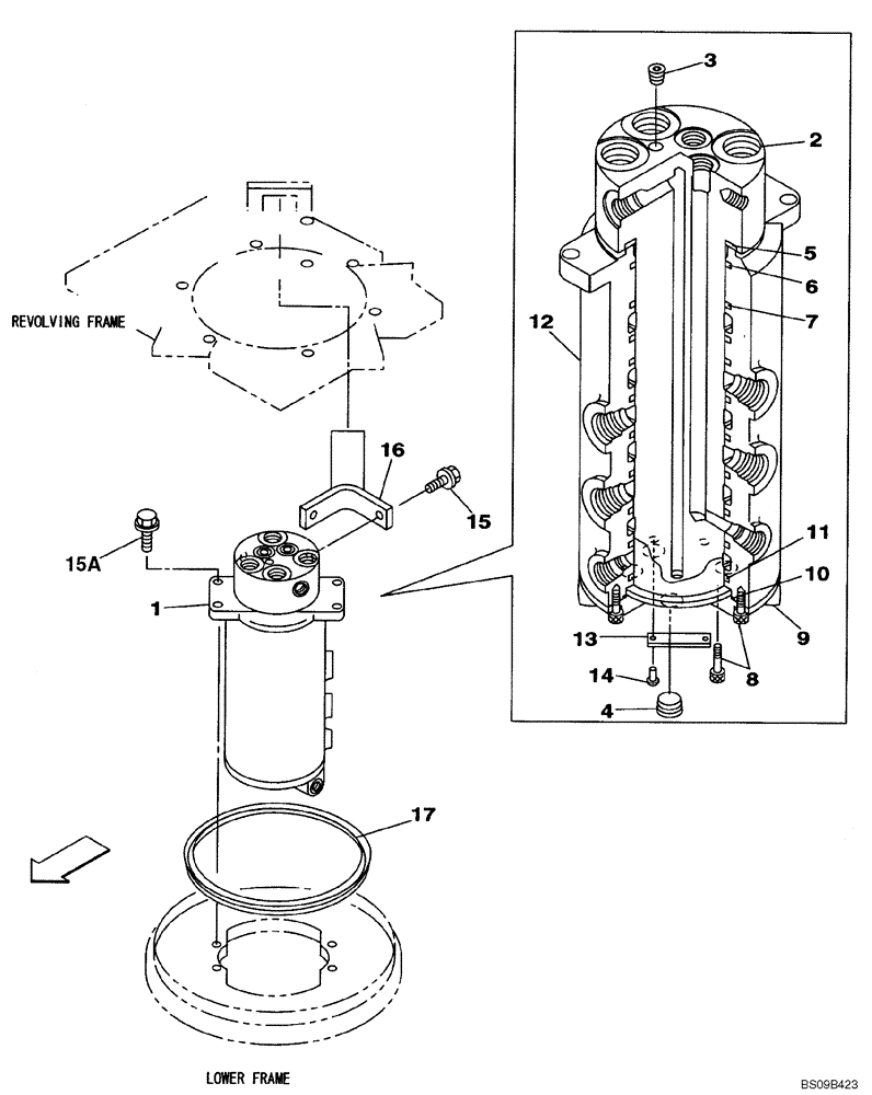
12
15
4
17
1
13
10
5
6
2
3
16
11
15a
7
8
14
9
FIT
1:1
100%

Артикул

Название

Примечание

Количество

1

KRA12010

HYDRAULIC SWIVEL

Incl. 2 - 14

1шт.

1

KRA12010R

REMAN-HYDRAULIC SWIV

CX225SR CRAWLER EXCAVATOR TIER 3, WITH DOZER BLADE (3/08-)

1шт.

1

KRA12010C

CORE-HYDRAULIC SWIV

Return Number

1шт.

2

KRA12030

PIN

Incl. 3, 4

1шт.

3

150821A1

PLUG

1шт.

4

150829A1

PLUG

4шт.

5

168443A1

SEALING RING

1шт.

6

154732A1

O-RING

1шт.

7

169059A1

SEALING RING

SEALRING

9шт.

8

861-8020

HEX SOC SCREW,M8 x 20mm, Cl 12.9

8шт.

9

168449A1

COVER

1шт.

10

154769A1

O-RING

1шт.

11

168447A1

TRAY

1шт.

12

KNA0858

ROTOR

1шт.

13

152593A1

TYPE PLATE

1шт.

14

301-1413

DRIVE SCREW,Drive, #2 x 3/16"

2шт.

15

166352A1

BOLT

M12X30

2шт.

15a

105R012Y045R

BOLT

BOLT, SEMS

4шт.

16

KRA12020

LOCKING BAR

1шт.

17

KRA11090

SEALING RING

SEALRING

1шт.

Выбрано товаров: 20