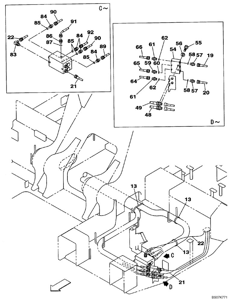
Запчасти Case CX225SR (08-90[03]) - PILOT CONTROL LINES - MODELS WITH DOZER BLADE (08) - HYDRAULICS

Схема запчастей Case CX225SR - (08-90[03]) - PILOT CONTROL LINES - MODELS WITH DOZER BLADE (08) - HYDRAULICS
85
91
84
13
58
19
13
54
85
65
55
59
62
49
66
57
22
90
21
84
85
85
21
90
56
86
20
92
58
62
57
83
60
89
64
61
87
48
13
22
61
FIT
1:1
100%

Артикул

Название

Примечание

Количество

13

150498A1

MOUNTING CLIP

9шт.

19

KHJ2387

HOSE

1550 mm

1шт.

20

KHJ2387

HOSE

1550 mm

1шт.

21

KHJ2387

HOSE

1550 mm

1шт.

22

KHJ2387

HOSE

1550 mm

1шт.

48

KHJ2348

HOSE

3200 mm

1шт.

49

KHJ2390

HOSE

3900 mm

1шт.

54

KHJ17110

VALVE

1шт.

55

827-8045

BOLT,Hex, M8 x 1.25 x 45mm, Cl 10.9

2шт.

56

153081A1

WASHER

2шт.

57

152747A1

ADAPTER

Incl. 58

2шт.

58

154467A1

O-RING,10.8mm ID x 2.4mm Width

1шт.

59

152127A1

HYD CONNECTOR,1/4" NPT O-Ring x 1/4" NPT

Incl. 60

1шт.

60

154467A1

O-RING,10.8mm ID x 2.4mm Width

1шт.

61

152747A1

ADAPTER

Incl. 61

2шт.

62

154467A1

O-RING,10.8mm ID x 2.4mm Width

1шт.

64

KHJ2102

HOSE

2700 mm

1шт.

65

KHJ2081

HOSE

3200 mm

1шт.

66

KHJ2102

HOSE

2700 mm

1шт.

83

153526A1

ELBOW

1шт.

84

152128A1

HYD CONNECTOR,3/8" NPT O-Ring x 3/8" NPT

Incl. 85

4шт.

85

154467A1

O-RING,10.8mm ID x 2.4mm Width

1шт.

86

KHJ2136

ADAPTER

Incl. 87

1шт.

87

154467A1

O-RING,10.8mm ID x 2.4mm Width

1шт.

89

KHJ2476

HOSE

3550 mm

1шт.

90

KHJ2475

HOSE

2850 mm

1шт.

91

KHJ2248

HOSE

3000 mm

1шт.

92

KHJ2178

HOSE

3700 mm

1шт.

Выбрано товаров: 28