Запчасти Case CX225SR (02-06) - COOLANT RECOVERY SYSTEM (02) - ENGINE

Схема запчастей Case CX225SR - (02-06) - COOLANT RECOVERY SYSTEM (02) - ENGINE
23
17
15
21
19
25
27
23
20
18
28
16
26
24
18
22
FIT
1:1
100%

Артикул

Название

Примечание

Количество

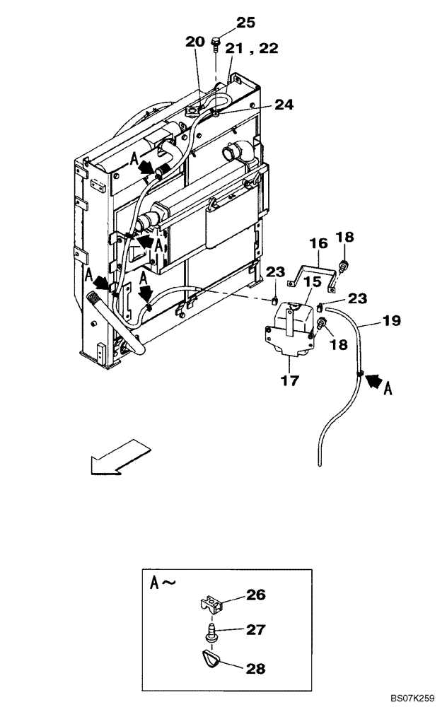
15

KHH0260

TANK

1шт.

16

KRH1270

HOLDER

1шт.

17

KRH11730

SUPPORT

BRACKET

1шт.

18

166052A1

BOLT

M10X25

4шт.

19

157776A1

HOSE

1шт.

20

165951A1

CLAMP

1шт.

21

KHH0460

HOSE,2300.00 mm

1шт.

22

KBR0652

FLEXIBLE SHEATH

1шт.

23

165951A1

CLAMP

2шт.

24

KHR2584

CLAMP

1шт.

25

KHJ1215

BOLT,Spcl

1шт.

26

150860A1

COLLAR

5шт.

27

840-168

SCREW,Pan, M6 x 1 x 8mm, Cl 4.8

5шт.

28

150496A1

MOUNTING CLIP

5шт.

Выбрано товаров: 14