Запчасти Case CX225SR (09-12) - COUNTERWEIGHT - SOUNDPROOFING (09) - CHASSIS/ATTACHMENTS

Схема запчастей Case CX225SR - (09-12) - COUNTERWEIGHT - SOUNDPROOFING (09) - CHASSIS/ATTACHMENTS
4
7
16
5
14
11
13
7
12
9
2
15
6
17
18
1
4
5
3
8
FIT
1:1
100%

Артикул

Название

Примечание

Количество

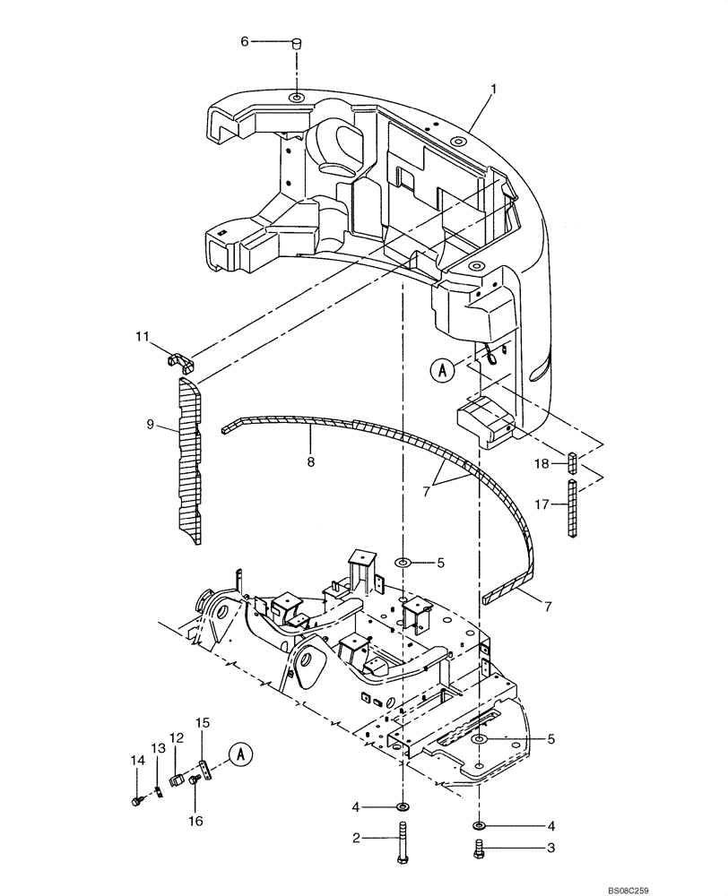
1

KRB16091

WEIGHT PACKAGE

COUNTER WEIGHT, Replaces KRB16090

1шт.

2

KHB0319

BOLT

M36X270

4шт.

1

Counterweight Lifting Eye Not Serviced - Thread size M42 pitch 4.5mm - length 91mm

1шт.

3

102R036W090N

BOLT

M36X90

2шт.

4

KHB0302

WASHER

6шт.

5

KAP0672

SHIM

6шт.

6

KHB0321

PLUG

3шт.

7

KAB0774

SEAL

3шт.

8

KRB14560

SEAL

SEAL, COUSHION

1шт.

9

KRB17070

SEAL

SEAL, COUSHION, Replaces KRB14530

1шт.

10

KRB14520

SEAL

No Longer Used, Replaced by Ref. 9 KRB17070

4шт.

11

KRB15430

SEAL

SEAL, COUSHION

1шт.

12

152772A1

HOLDER

1шт.

13

KHN3548

PLATE

1шт.

14

166052A1

BOLT

2шт.

15

KRB1807

BRACKET

1шт.

16

166052A1

BOLT

2шт.

17

KMN1909

SEAL

1шт.

18

KRN16880

SEAL

SEAL, COUSHION

1шт.

Выбрано товаров: 0