Запчасти Case CX225SR (09-29) - HEATER - DUCT ASSEMBLY (09) - CHASSIS/ATTACHMENTS

Схема запчастей Case CX225SR - (09-29) - HEATER - DUCT ASSEMBLY (09) - CHASSIS/ATTACHMENTS
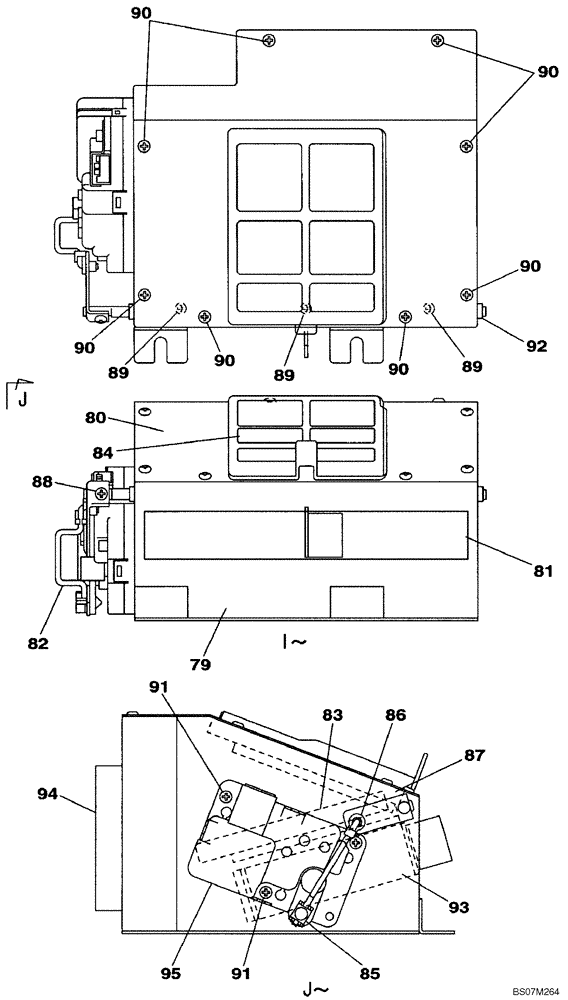
89
90
90
95
85
82
88
90
91
94
86
91
90
87
89
93
83
80
89
84
90
81
79
92
90
FIT
1:1
100%

Артикул

Название

Примечание

Количество

79

KHR4072

BOX

1шт.

80

KHR4073

BOX

1шт.

81

KHR4074

CAB FILTER

1шт.

82

KHR4075

MOUNTING ROD

1шт.

83

KHR4076

DAMPER

1шт.

84

KHR4077

SCREEN

1шт.

85

KHR3774

CLAMP

1шт.

86

KHR3775

HOLDER

1шт.

87

KHR4078

LEVER

1шт.

88

KHR4079

SCREW

1шт.

89

KHR4080

SCREW

3шт.

90

KHR4081

SCREW

8шт.

91

KHR4082

SCREW

3шт.

92

KHR4083

SPACER

2шт.

93

KHR4084

NOISE PROTECTION

1шт.

94

KHR4085

NOISE PROTECTION

1шт.

95

KHR4087

SMALL ELECTRIC MOTOR

1шт.

Выбрано товаров: 0